授权公布号:CN214891886U
一种采暖电锅炉电气控制系统
有效
申请
2020-12-28
申请公布
1970-01-01
授权
2021-11-26
预估到期
2030-12-28
| 申请号 | CN202023213116.3 |
| 申请日 | 2020-12-28 |
| 授权公布号 | CN214891886U |
| 授权公告日 | 2021-11-26 |
| 分类号 | F24H9/20;H05K5/02;B01D53/26 |
| 分类 | 供热;炉灶;通风; |
| 申请人名称 | 安徽安泽电工有限公司 |
| 申请人地址 | 安徽省宣城市宁国经济技术开发区河沥园区振宁路38号 |
专利法律状态
2021-11-26
授权
状态信息
授权
摘要
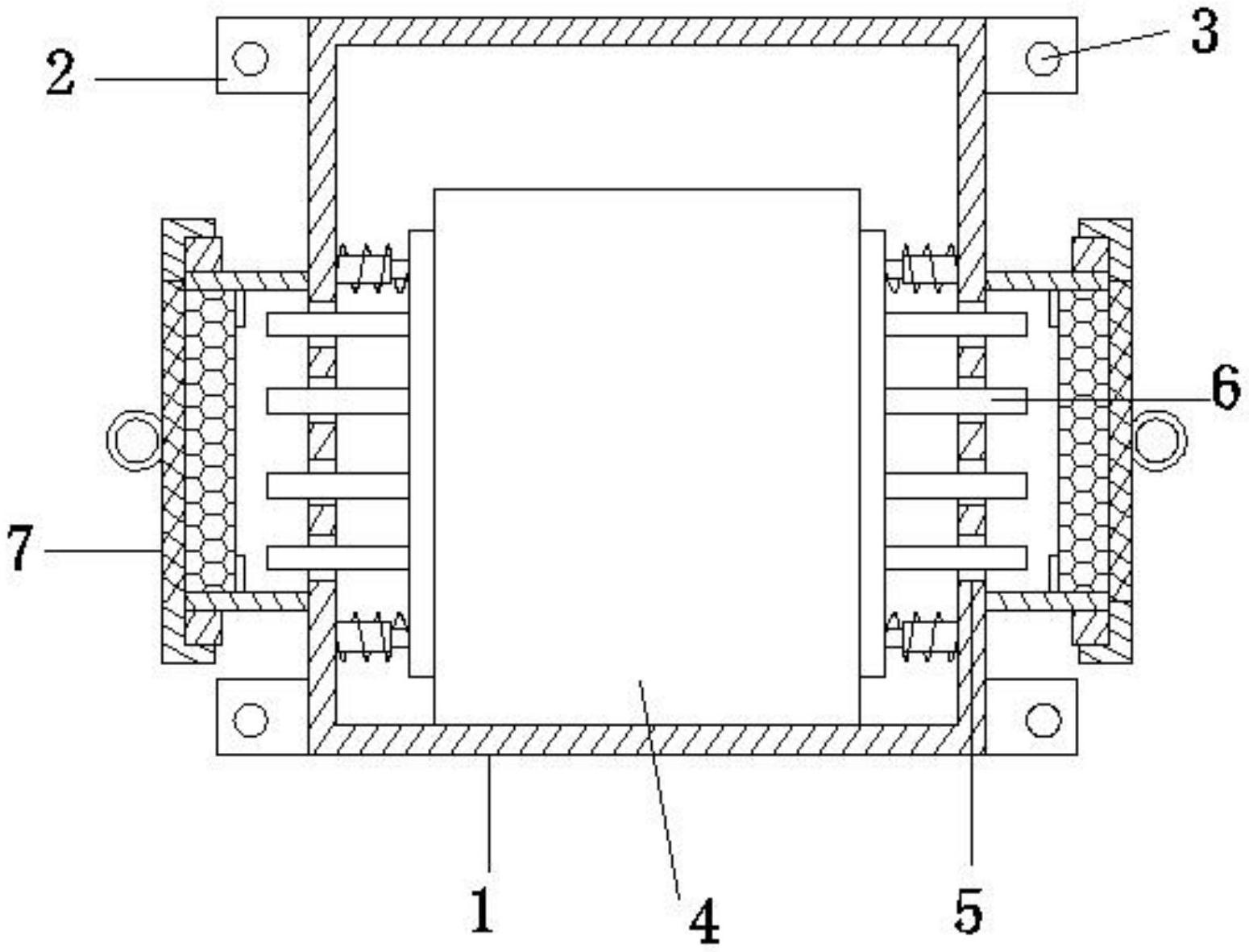
本实用新型公开了采暖设备技术领域的一种采暖电锅炉电气控制系统,包括箱体,箱体的四周均固定有安装块,安装块上开设有螺纹孔,箱体的两侧对称开设有若干散热孔,箱体的中部设置有控制器本体,控制器本体的两侧对称设置有散热机构,箱体的外侧两端对称设置有防尘机构,散热机构包括导热板、散热片、伸缩杆和弹簧,防尘机构包括矩形框、限位板、铁网框、圆板、盖板、防尘网和圆环;本实用新型能够将控制器本体放在两个导热板之间进行夹持固定,通过导热板和散热片将热量往外传递,设置有防尘网能够阻拦灰尘,防潮珠能够吸收水汽,防止灰尘和水汽进入箱体的内部,同时,盖板可拆卸,能够对内部的的防潮珠进行更换。


