授权公布号:CN217883088U
一种用于电动葫芦的电动机
有效
申请
2022-06-28
申请公布
1970-01-01
授权
2022-11-22
预估到期
2032-06-28
| 申请号 | CN202221657082.3 |
| 申请日 | 2022-06-28 |
| 授权公布号 | CN217883088U |
| 授权公告日 | 2022-11-22 |
| 分类号 | H02K5/24;H02K5/26;H02K5/20;H02K5/10;H02K9/06 |
| 分类 | 发电、变电或配电; |
| 申请人名称 | 凯澄起重机械有限公司 |
| 申请人地址 | 江苏省无锡市江阴市澄江东路18号 |
专利法律状态
2022-11-22
授权
状态信息
授权
摘要
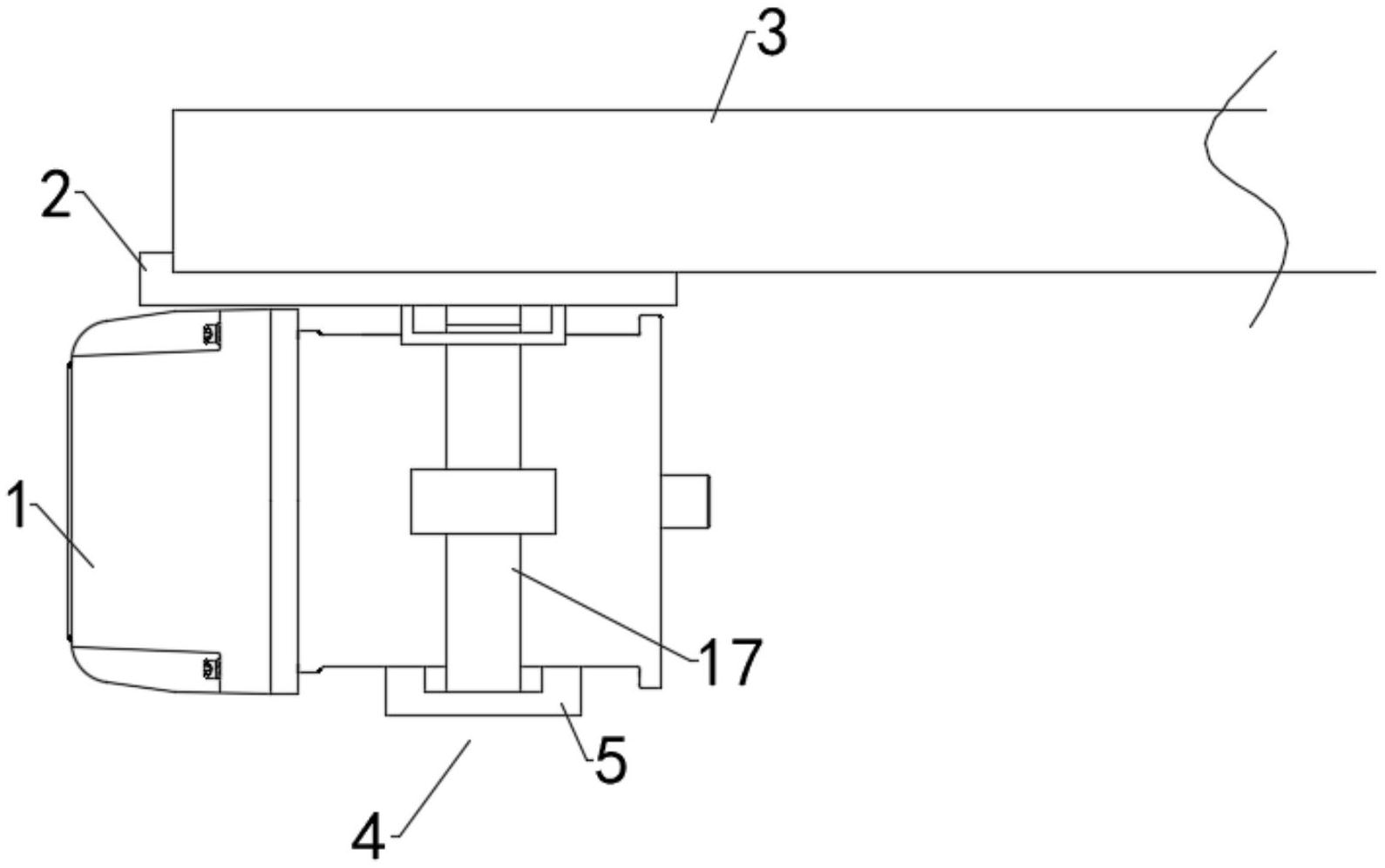
本实用新型提供一种用于电动葫芦的电动机,包括松紧组件和电动机本体,松紧组件包括松紧带、固定块和调整块,所述松紧带一端固定安装在固定块上,松紧带另一端与调整块活动连接;电动机本体通过所述松紧带安装在电动滑板上,所述电动滑板与滑轨滑动连接,所述电机本体上安装有多个锁扣,所述锁扣中间设有通孔,通孔的尺寸与松紧带的尺寸对应,可以适用于不同型号的电机的安装固定,同时电机出现故障时,便于拆卸检修。


