授权公布号:CN214742636U
一种锥形电机用分体式锁紧螺母
有效
申请
2021-02-04
申请公布
1970-01-01
授权
2021-11-16
预估到期
2031-02-04
| 申请号 | CN202120330036.1 |
| 申请日 | 2021-02-04 |
| 授权公布号 | CN214742636U |
| 授权公告日 | 2021-11-16 |
| 分类号 | F16B37/00 |
| 分类 | 工程元件或部件;为产生和保持机器或设备的有效运行的一般措施;一般绝热; |
| 申请人名称 | 凯澄起重机械有限公司 |
| 申请人地址 | 江苏省无锡市江阴市澄江东路18号 |
专利法律状态
2021-11-16
授权
状态信息
授权
摘要
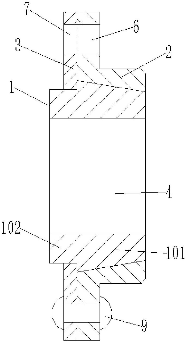
本实用新型公开了一种锥形电机用分体式锁紧螺母,包括锁母、压紧盘和卡板,所述锁母设有螺纹孔,所述锁母沿其轴向且贯穿开设有开口槽,所述锁母包括第一锁母分体和第二锁母分体,所述第一锁母分体呈空心圆台状,所述压紧盘的内锥面和所述第一锁母分体的外锥面配合连接,所述第二锁母分体和所述卡板均呈空心圆环状,所述卡板紧密套设于所述第二锁母分体外,其中所述第一锁母分体和所述第二锁母分体一体成型,所述压紧盘的横截面呈L形。本实用新型结构简单,安装时由于锁母上设有开口槽,压紧盘通过锥面将锁母有效地锁紧在电机轴上,能有效地将制动轮与电机轴锁紧,锥形电机制动时动作平稳,无明显振动和异常噪声,实用性强。


