授权公布号:CN209203197U
一种洗鞋机
有效
申请
2018-06-27
申请公布
1970-01-01
授权
2019-08-06
预估到期
2028-06-27
| 申请号 | CN201821008609.3 |
| 申请日 | 2018-06-27 |
| 授权公布号 | CN209203197U |
| 授权公告日 | 2019-08-06 |
| 分类号 | A47L23/02 |
| 分类 | 家具;家庭用的物品或设备;咖啡磨;香料磨;一般吸尘器; |
| 申请人名称 | 北京福奈特洗衣服务有限公司 |
| 申请人地址 | 北京市丰台区中核路3号院3号楼101—3层318室 |
专利法律状态
2019-08-06
授权
状态信息
授权
摘要
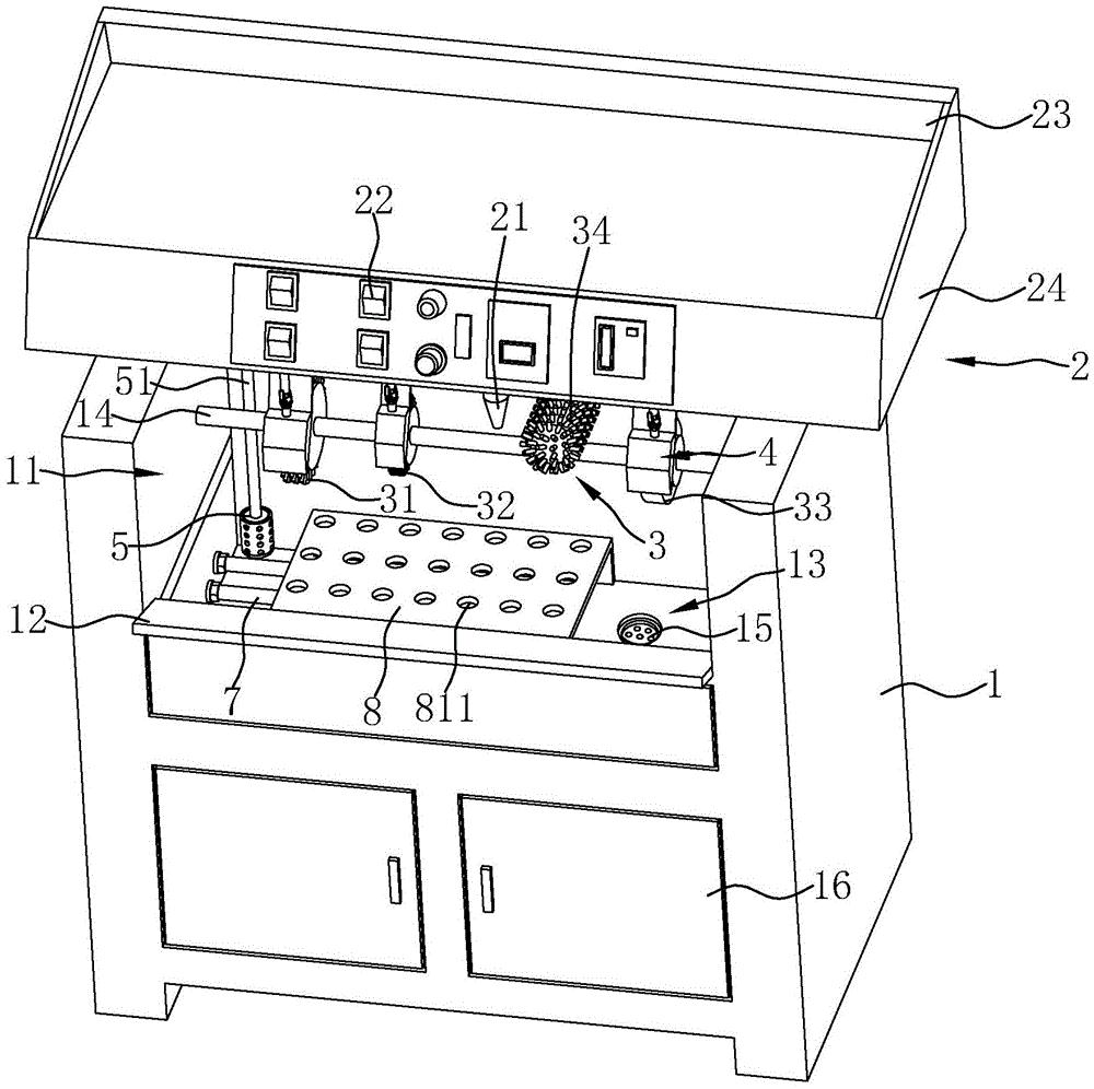
本实用新型公开了一种洗鞋机,包括机体以及一体连接于所述机体上方的控制台,所述机体的一侧开设有供鞋子放入的开口,所述机体内位于所述开口下方的位置开设有清洗槽,所述控制台的下方设有向所述清洗槽内注水的自来水管,所述清洗槽的槽底沿其长度方向设有加热管;所述机体内与所述开口相垂直的两侧壁之间转动连接有转轴,所述转轴上穿设有清洗部,所述清洗部的上方设有喷淋组件,所述清洗槽内设有抽水泵,所述抽水泵的出水口处连通有输水管,所述输水管的另一端与所述喷淋组件相连接。本实用新型的优点是适用于多种材质的鞋子且清洗效果好,同时可以在清洗的过程中对水进行循环使用。


