授权公布号:CN211084019U
一种LED驱动电源及其外壳
有效
申请
2019-12-30
申请公布
1970-01-01
授权
2020-07-24
预估到期
2029-12-30
| 申请号 | CN201922437230.5 |
| 申请日 | 2019-12-30 |
| 授权公布号 | CN211084019U |
| 授权公告日 | 2020-07-24 |
| 分类号 | F21V23/00 |
| 分类 | 照明; |
| 申请人名称 | 徐州市恒源电器有限公司 |
| 申请人地址 | 江苏省徐州市高新技术产业开发区珠江路47号 |
专利法律状态
2020-07-24
授权
状态信息
授权
摘要
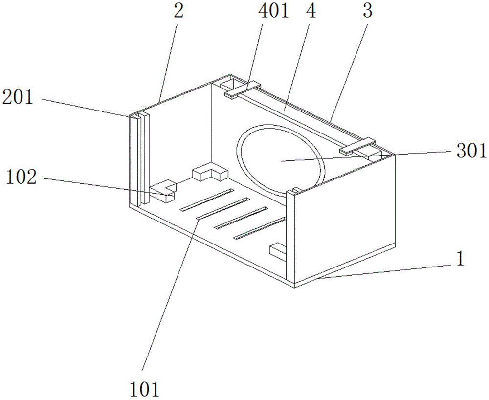
本实用新型公开了一种LED驱动电源及其外壳,包括底板、侧板、通风装置和盖板;所述底板的底部通过限位块固定有电源模组,所述电源模组的侧壁上设有凹槽,所述底板的两侧通过螺栓安装有侧板,所述侧板的一侧安装有背板,所述背板的内部通过安装块固定有通风装置,所述背板的外壁上贯穿安装有集线槽,所述背板的外壁上安装有开关,且开关位于集线槽的上方,所述盖板的一侧安装有嵌合板。本实用新型的整体架构为底板组成一个整体,以及一块嵌合板和盖板组成另外一个整体,会将外壳内部的零件暴露在外界当中,使工作人员对外壳的操作空间得到了显著的扩充,便于工作人员对外壳内部的零部件进行维修与替换,延长了装置的使用寿命,提高了装置的便捷性。


