授权公布号:CN217753620U
一种警灯安装架
有效
申请
2022-06-20
申请公布
1970-01-01
授权
2022-11-08
预估到期
2032-06-20
| 申请号 | CN202221548038.9 |
| 申请日 | 2022-06-20 |
| 授权公布号 | CN217753620U |
| 授权公告日 | 2022-11-08 |
| 分类号 | B60Q1/50 |
| 分类 | 一般车辆; |
| 申请人名称 | 苏州傲威电动车辆制造有限公司 |
| 申请人地址 | 江苏省苏州市吴中区临湖镇平安路699号 |
专利法律状态
2022-11-08
授权
状态信息
授权
摘要
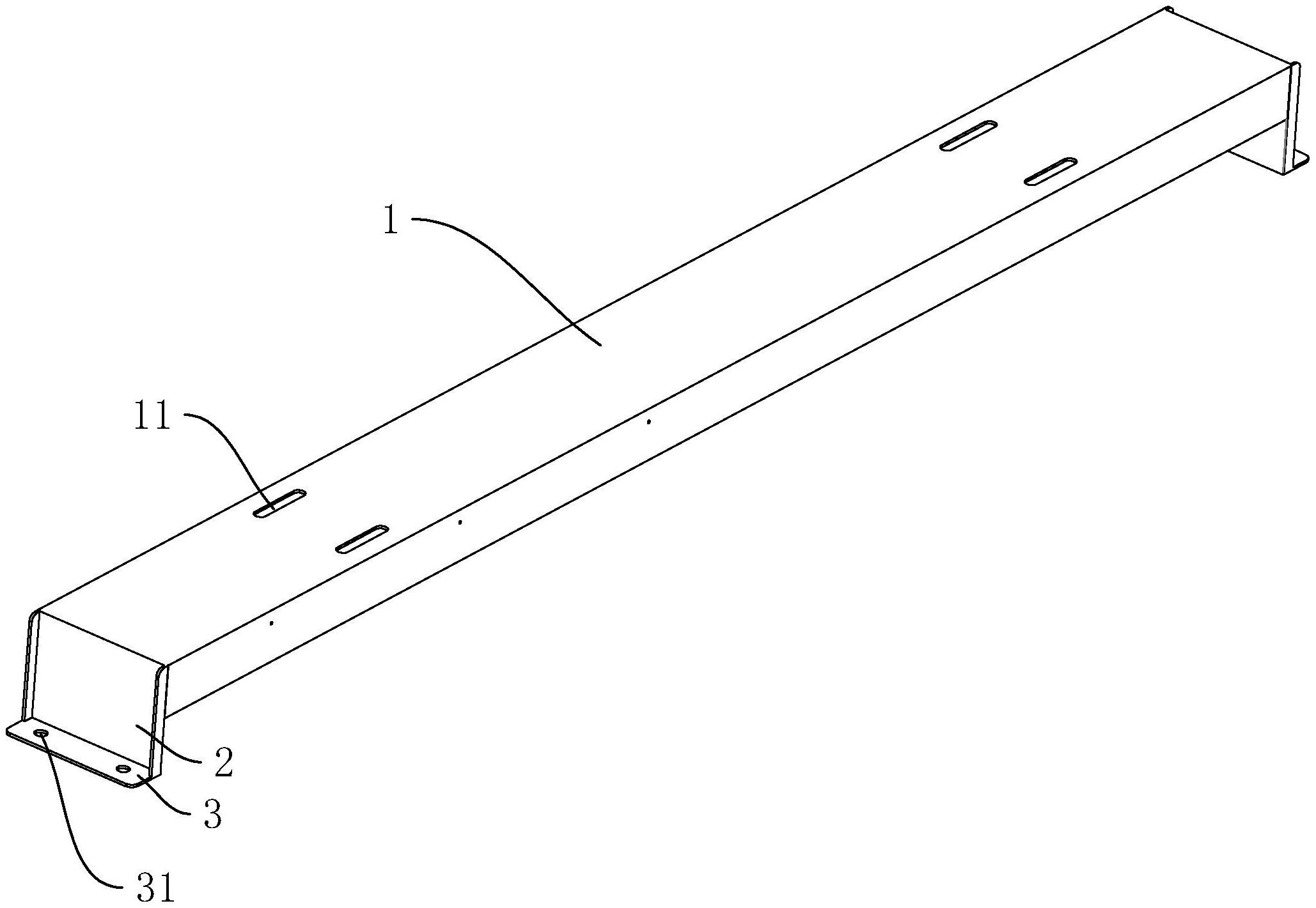
本申请涉及电动消防车领域的技术领域,尤其是涉及一种警灯安装架,其包括安装板,所述安装板上设置有若干用于连接车体的连接板,所述安装板上设置有若干供警灯安装的安装孔,所述安装孔为腰型孔,所述安装板和连接板之间设置有延伸组件。本申请具有满足不同尺寸结构牌照安装需求的效果。


