授权公布号:CN215793583U
牌照安装结构
有效
申请
2021-10-19
申请公布
1970-01-01
授权
2022-02-11
预估到期
2031-10-19
| 申请号 | CN202122518445.7 |
| 申请日 | 2021-10-19 |
| 授权公布号 | CN215793583U |
| 授权公告日 | 2022-02-11 |
| 分类号 | B60R13/10;B60Q1/56 |
| 分类 | 一般车辆; |
| 申请人名称 | 苏州傲威电动车辆制造有限公司 |
| 申请人地址 | 江苏省苏州市吴中区临湖镇平安路699号 |
专利法律状态
2022-02-11
授权
状态信息
授权
摘要
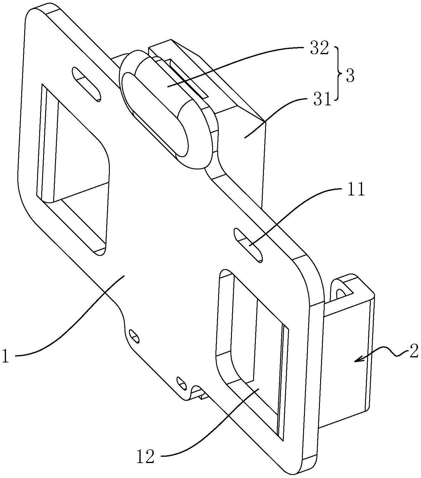
本申请涉及高尔夫球车的技术领域,尤其是涉及一种牌照安装结构,其包括安装板,所述安装板上设置有若干延伸支脚,所述延伸支脚上设置有若干安装孔,所述延伸支脚垂直于安装板设置,所述安装板上开设有用于供牌照安装的螺接孔。本申请具有可以满足不同牌照安装需求的效果。


