授权公布号:CN219051058U
一种玻璃胶调色机
有效
申请
2022-12-26
申请公布
1970-01-01
授权
2023-05-23
预估到期
2032-12-26
| 申请号 | CN202223491025.5 |
| 申请日 | 2022-12-26 |
| 授权公布号 | CN219051058U |
| 授权公告日 | 2023-05-23 |
| 分类号 | B01F27/95;B01F27/191;B01F35/10;B01F35/12;B01F35/45;B01F101/36N |
| 分类 | 一般的物理或化学的方法或装置; |
| 申请人名称 | 山东常青树胶业股份有限公司 |
| 申请人地址 | 山东省东营市河口区海宁路777号 |
专利法律状态
2023-05-23
授权
状态信息
授权
摘要
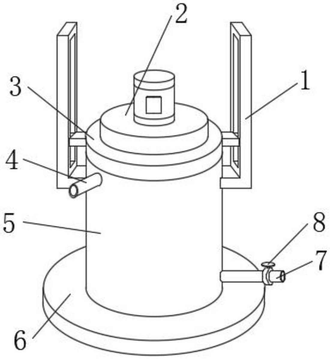
本实用新型公开了一种玻璃胶调色机,包括罐体、设置在罐体上侧面上的端盖、设置在罐体外表面一侧的进料管以及设置在罐体外壁另一侧的出料管,所述出料管上设置开关阀,所述罐体外表面上部设置用于端盖抬升的升降结构,所述端盖一侧表面设置多级混合结构;所述升降结构包括立架,所述立架对称设置在罐体外表面两侧,所述端盖两侧表面对称设置横架,所述横架一侧表面设置调节块,所述调节块一端滑动设置在调节槽内,所述调节槽设置在立架一侧表面,所述调节槽内一侧表面设置电动推杆,所述电动推杆的活塞杆一端与调节块连接,本实用新型能够将端盖与罐体分离,便于对罐体以及多级混合结构进行清理,且搅拌混合效率高,调色周期短。


