授权公布号:CN217414370U
一种纤维增强陶瓷基复合材料免钉胶薄片成型机
有效
申请
2022-02-21
申请公布
1970-01-01
授权
2022-09-13
预估到期
2032-02-21
| 申请号 | CN202220346666.2 |
| 申请日 | 2022-02-21 |
| 授权公布号 | CN217414370U |
| 授权公告日 | 2022-09-13 |
| 分类号 | B28B11/00 |
| 分类 | 加工水泥、黏土或石料; |
| 申请人名称 | 山东常青树胶业股份有限公司 |
| 申请人地址 | 山东省东营市河口区海宁路777号 |
专利法律状态
2022-09-13
授权
状态信息
授权
摘要
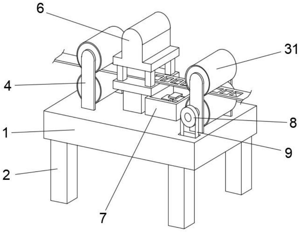
本实用新型公开了一种纤维增强陶瓷基复合材料免钉胶薄片成型机,涉及薄片加工领域,包括工作台,工作台上方设有两个辊筒,两个辊筒通过同一支撑架转动连接,支撑架底部固定连接于工作台上,支撑架一侧设有平台,平台顶部安装有压制机,平台另一侧下方放置有收集箱,收集箱另一侧同样安装有导向辊,导向辊下方辊筒转轴向外凸出并与飞轮一相连接,飞轮一通过皮带与飞轮二相连接,飞轮二通过同心齿轮与半齿轮相啮合,半齿轮与电机二输出端相连接,通过电机配合齿轮、连接杆等器械传动来代替人工操作,薄片成型更好,生产效率更高,使用更方便,通过调节半齿轮的齿牙数能够改变辊筒每次带动原料板位移距离,从而能够最大化利用原料板。


