授权公布号:CN210800626U
一种用于行车记录仪的防晒支架
有效
申请
2019-09-04
申请公布
1970-01-01
授权
2020-06-19
预估到期
2029-09-04
| 申请号 | CN201921455800.7 |
| 申请日 | 2019-09-04 |
| 授权公布号 | CN210800626U |
| 授权公告日 | 2020-06-19 |
| 分类号 | F16M13/02 |
| 分类 | 工程元件或部件;为产生和保持机器或设备的有效运行的一般措施;一般绝热; |
| 申请人名称 | 深圳祖师汇科技股份有限公司 |
| 申请人地址 | 广东省深圳市龙华区观澜街道库坑社区同富裕工业区28号华朗嘉工业园1号601 |
专利法律状态
2020-06-19
授权
状态信息
授权
摘要
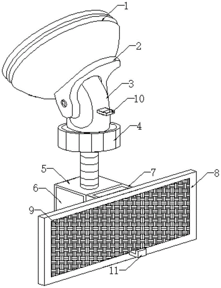
本实用新型公开了一种用于行车记录仪的防晒支架,包括强力吸盘,强力吸盘的底部固定设有万向卡块,万向卡块底部的卡槽内穿插连接有万向接头,万向接头的底部固定设有调节螺栓,调节螺栓的底部设有固定块,固定块的一侧通过阻尼转轴铰接有遮挡板,遮挡板的表面粘贴有遮阳布,本实用新型一种用于行车记录仪的防晒支架,通过在固定块的一侧设置有遮挡板和遮阳布,可在记录仪不使用时有效遮挡外界穿过挡风玻璃的阳光,避免阳光长时间照射于记录仪使其温度温度升高,从而避免影响记录仪的使用寿命,通过在遮挡板内部设置有第一隔热板、第二隔热板和中空隔热腔,可在遮挡阳光的同时阻滞热量的传递,有效提高了隔热效果。


