授权公布号:CN211411697U
一种车用尿素生产线搅拌防沉淀装置
有效
申请
2019-11-19
申请公布
1970-01-01
授权
2020-09-04
预估到期
2029-11-19
| 申请号 | CN201921996342.8 |
| 申请日 | 2019-11-19 |
| 授权公布号 | CN211411697U |
| 授权公告日 | 2020-09-04 |
| 分类号 | B01F7/16;B01F11/00 |
| 分类 | 一般的物理或化学的方法或装置; |
| 申请人名称 | 安徽尚蓝环保科技有限公司 |
| 申请人地址 | 安徽省合肥市庐阳区中科大校友创新园3号楼 |
专利法律状态
2020-09-04
授权
状态信息
授权
摘要
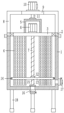
本实用新型公开了一种车用尿素生产线搅拌防沉淀装置,包括罐体,罐体的顶部法兰连接有盖体,盖体的内腔顶部通过轴承转动连接有承载板,承载板的底部左右两侧对称固接有搅拌板叶,承载板的顶部中心处固接有机盒,机盒的内腔底部中间设置有正反转电机,正反转电机的底部动力输出端连接有螺纹丝杆,盖体的顶部左右两侧对称固接有直角柱,两组直角柱之间固接有支撑板,支撑板的顶部中间设置有搅拌电机,搅拌电机的底部动力输出端连接有搅拌联动轴,螺纹丝杆上螺接有管套,管套的外壁固接有导向条板,导向条板的外侧固接有圆环架,螺纹丝杆的底部固接有挡位块,本实用新型结构设计合理,便于对车用尿素搅拌的同时防止其在容器底部的沉淀。


