授权公布号:CN211487498U
一种车用尿素上料加注搅拌系统
有效
申请
2019-11-19
申请公布
1970-01-01
授权
2020-09-15
预估到期
2029-11-19
| 申请号 | CN201921996051.9 |
| 申请日 | 2019-11-19 |
| 授权公布号 | CN211487498U |
| 授权公告日 | 2020-09-15 |
| 分类号 | B01F15/00;B01F1/00 |
| 分类 | 一般的物理或化学的方法或装置; |
| 申请人名称 | 安徽尚蓝环保科技有限公司 |
| 申请人地址 | 安徽省合肥市庐阳区中科大校友创新园3号楼 |
专利法律状态
2020-09-15
授权
状态信息
授权
摘要
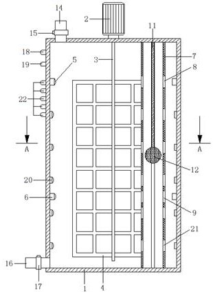
本实用新型公开了一种车用尿素上料加注搅拌系统,包括罐体,罐体的顶部设置有搅拌电机,搅拌电机的底部动力输出端通过搅拌轴设置有搅拌叶,罐体的内腔侧壁从上到下设置有第一光电开关和第二光电开关,罐体内腔顶部和底部之间设置有空心的立柱,立柱的左右侧壁开设有上通孔和下通孔,立柱的前后侧壁对称开设有限位槽,罐体的内腔顶部设置有挡光带,挡光带的底部设置有浮球,挡光带和浮球均位于立柱的内腔,挡光带的底部前后端设置有卡球,罐体的左侧壁设置有上指示灯和下指示灯。本实用新型能够在对车用尿素溶液进行搅拌而产生的液面流动的情况下,对液面高度进行监控,使用方便。


