授权公布号:CN207741438U
一种去离水的车用尿素装置
有效
申请
2018-01-16
申请公布
1970-01-01
授权
2018-08-17
预估到期
2028-01-16
| 申请号 | CN201820063834.0 |
| 申请日 | 2018-01-16 |
| 授权公布号 | CN207741438U |
| 授权公告日 | 2018-08-17 |
| 分类号 | F26B7/00;F26B5/08;F26B9/06;F26B21/00;F26B21/10;F26B25/00;F26B25/08;C07C275/00;C07C273/16 |
| 分类 | 干燥; |
| 申请人名称 | 广州蓝禾素环保科技有限公司 |
| 申请人地址 | 广东省广州市番禺区大龙街傍江西村玉带大街6号C区102 |
专利法律状态
2018-08-17
授权
状态信息
授权
摘要
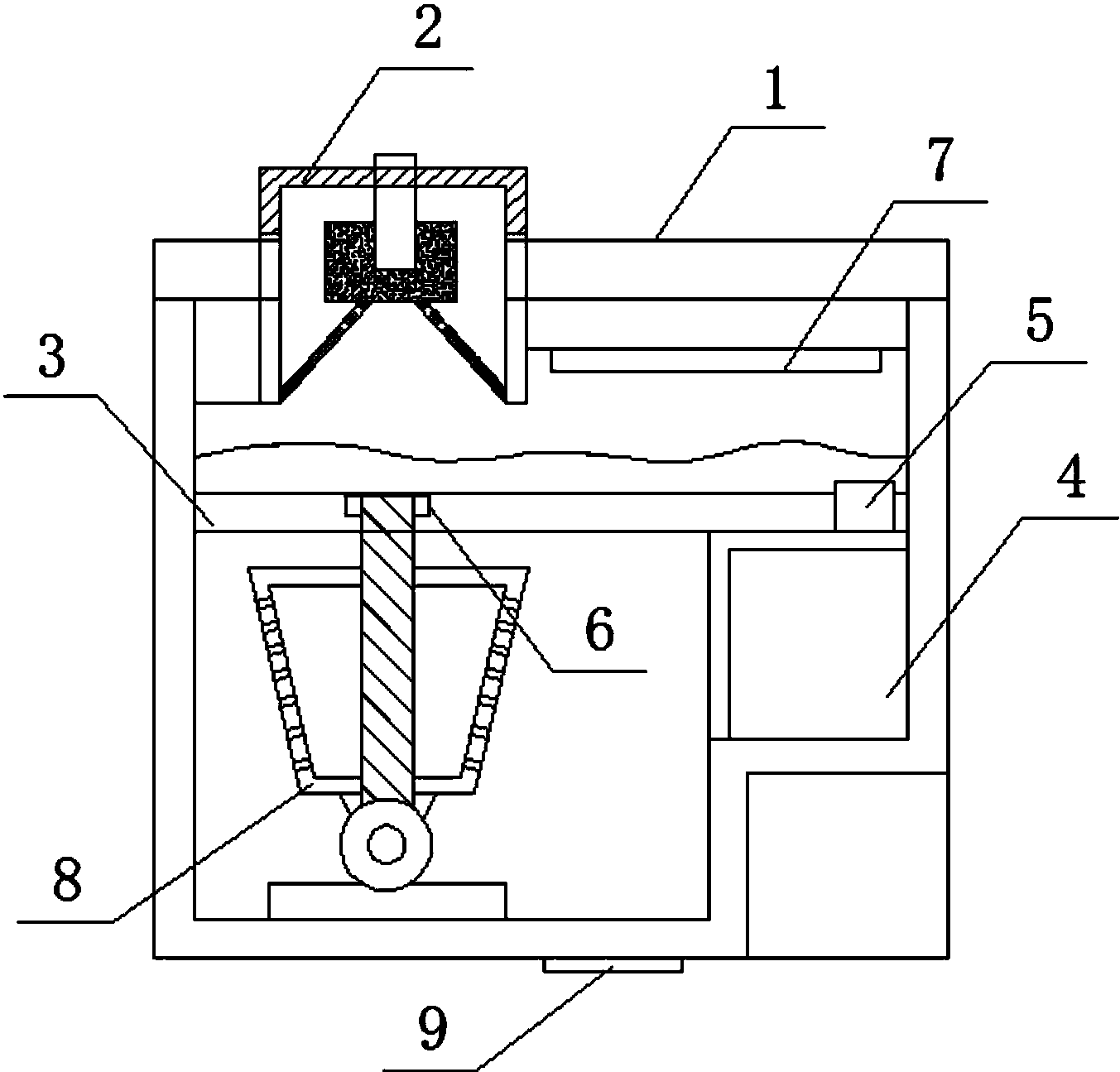
本实用新型公开了一种去离水的车用尿素装置,包括机箱、进料箱、挡板、热风箱、接管、电磁阀、吸潮棉、二次处理箱、排出口、进料口、加热箱、滤板、底板、筛孔、底部齿轮、转杆、传动齿轮和摇把。本实用新型的有益效果是:通过在机箱内部安装挡板,利用挡板将机箱划分成两层,顶层安装有进料箱用于进料,并且在进料箱中部安装有与进料口相连通的加热箱,利用加热箱提供120℃的高温对投入的尿素进行加热,加热后的含有结晶的尿素从加热箱底部的两个倾斜设置的滤板落入挡板上方,在挡板一端安装有与热风箱相连通的接管,利用热风箱不断鼓入的热风将尿素中的液体带走,由于在机箱顶部内壁上安装有吸收液体用的吸潮棉。


