授权公布号:CN212549182U
一种车用尿素生产用自动加料仓
有效
申请
2020-05-26
申请公布
1970-01-01
授权
2021-02-19
预估到期
2030-05-26
| 申请号 | CN202020897871.9 |
| 申请日 | 2020-05-26 |
| 授权公布号 | CN212549182U |
| 授权公告日 | 2021-02-19 |
| 分类号 | B01F7/18;B01F15/02 |
| 分类 | 一般的物理或化学的方法或装置; |
| 申请人名称 | 湖北丰盈节能环保科技股份有限公司 |
| 申请人地址 | 湖北省荆门市东宝区工业园子陵铺镇新桥一组 |
专利法律状态
2021-02-19
授权
状态信息
授权
摘要
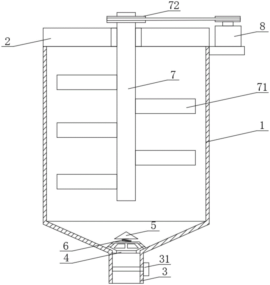
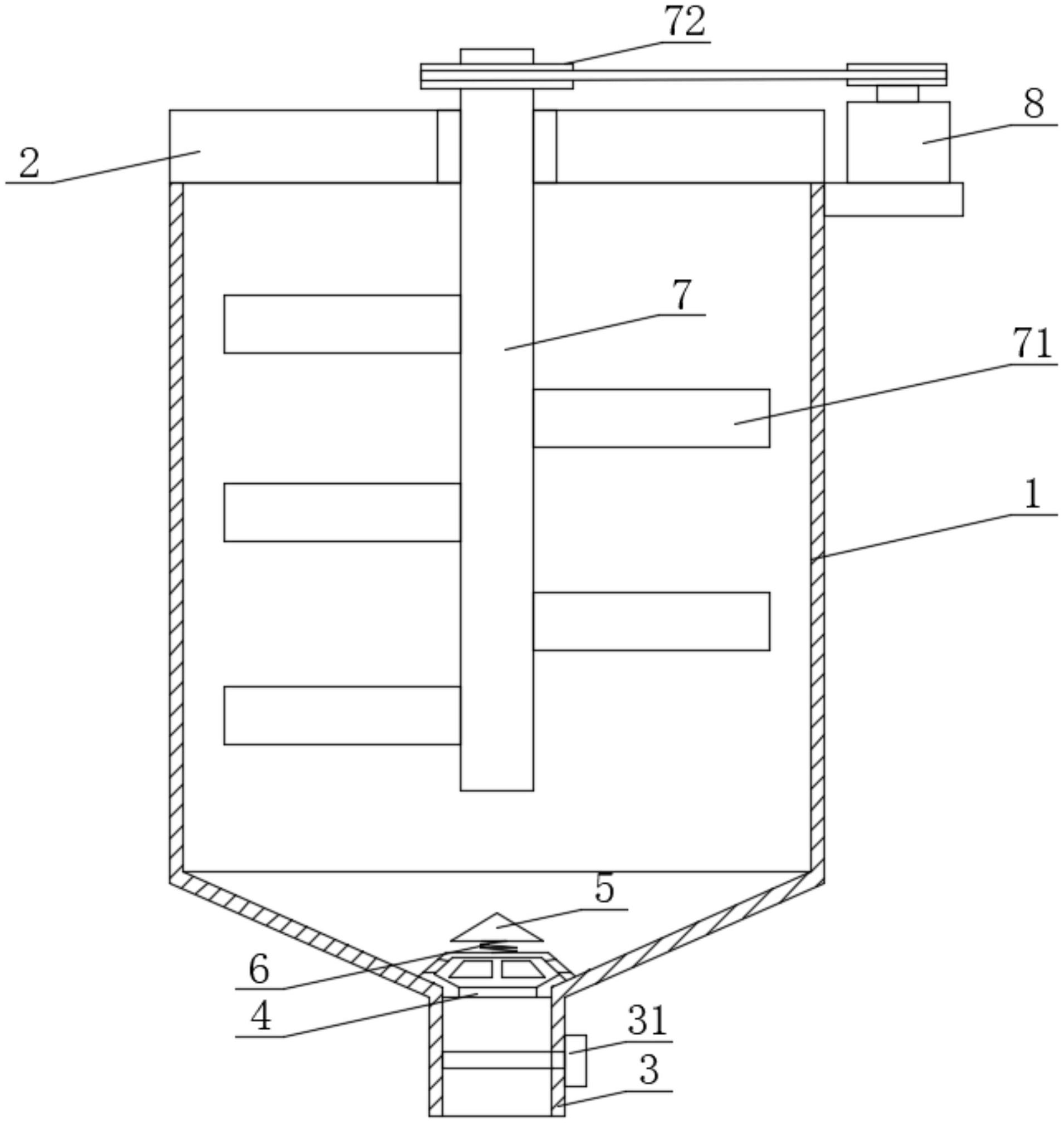
本实用新型公开了一种车用尿素生产用自动加料仓,包括仓体,所述仓体底端设有下料口,且仓体顶端盖合于盖板,所述盖板中部通过轴承插设有搅拌轴,所述搅拌轴侧壁设有搅拌杆,所述搅拌轴顶端套接有皮带轮,所述仓体侧部通过支架固定安装有电机,所述电机的输出轴端通过皮带与皮带轮活动连接,所述仓体内腔底端插设有下料器,所述下料器包括固定圈、固定盘和连接臂。该种车用尿素生产用自动加料仓,可将待添加的物料先搅拌分离后,在物料下落时二次破开结块物料完成自动加料工序,无需使用多余电动器械即可能够解决传统加料工序中物料结块打散不完全的问题,制作成本低,操作简单方便。


