授权公布号:CN220470048U
车用尿素无区加热机构
有效
申请
2023-08-30
申请公布
1970-01-01
授权
2024-02-09
预估到期
2033-08-30
| 申请号 | CN202322340322.8 |
| 申请日 | 2023-08-30 |
| 授权公布号 | CN220470048U |
| 授权公告日 | 2024-02-09 |
| 分类号 | F01N3/28;F01N3/20 |
| 分类 | 一般机器或发动机;一般的发动机装置;蒸汽机; |
| 申请人名称 | 湖北丰盈节能环保科技股份有限公司 |
| 申请人地址 | 湖北省荆门市东宝区工业园(子陵铺镇新桥一组) |
专利法律状态
2024-02-09
授权
状态信息
授权
摘要
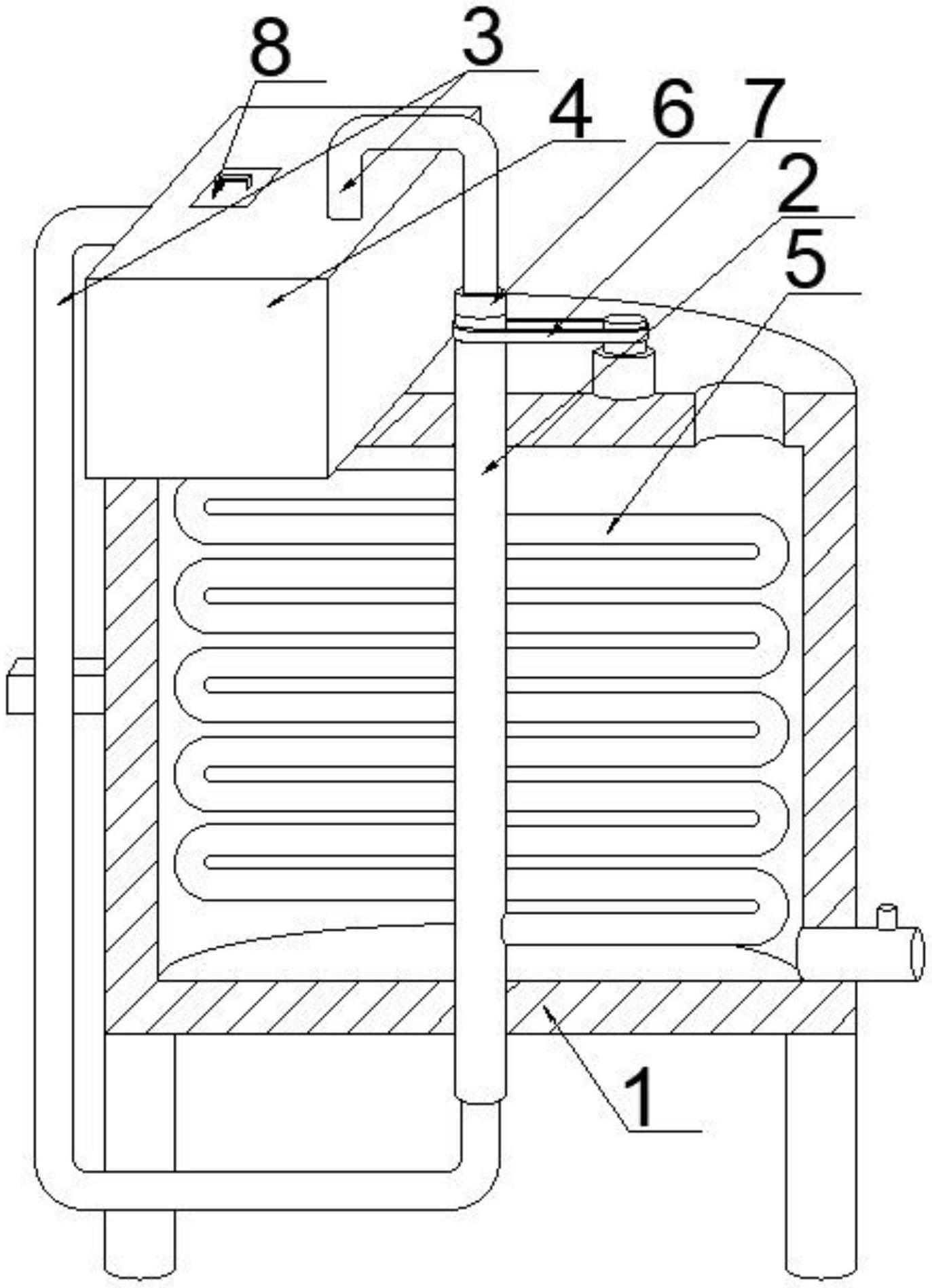
本实用新型公开了一种车用尿素无区加热机构,包括筒体,筒体的顶端开设有置入槽,且筒体的底端一侧插接有排出管,排出管设置有阀门,筒体转动连接有转动杆,转动杆顶底两端均设置有导管,筒体的顶端固定连接有供热箱,两个导管远离转动杆的一端均插入供热箱,转动杆的顶底两端均中空设置,且转动杆设置有换热管道,换热管道的两端分别插接在转动杆的顶底两端中空处,且换热管道呈环绕状,转动杆靠近导管处通过磁流体密封件与导管连接,筒体的顶端固定连接有电机,电机的输出轴通过传动带与转动杆传动连接,通过上述结构的配合,使得可以对筒体内部的各个区域都能进行散热,以便可以对筒体内的车用尿素加热均匀。


