授权公布号:CN216419096U
一种脱硝尿素溶解储存装置
有效
申请
2021-12-22
申请公布
1970-01-01
授权
2022-05-03
预估到期
2031-12-22
| 申请号 | CN202123239517.0 |
| 申请日 | 2021-12-22 |
| 授权公布号 | CN216419096U |
| 授权公告日 | 2022-05-03 |
| 分类号 | B01F27/90;B01F27/191;B01F35/92;B01F35/75;B01F23/70;B01D36/00;B01D29/03;B01D15/08;C02F9/02 |
| 分类 | 一般的物理或化学的方法或装置; |
| 申请人名称 | 湖北丰盈节能环保科技股份有限公司 |
| 申请人地址 | 湖北省荆门市东宝区工业园(子陵铺镇新桥一组) |
专利法律状态
2022-05-03
授权
状态信息
授权
摘要
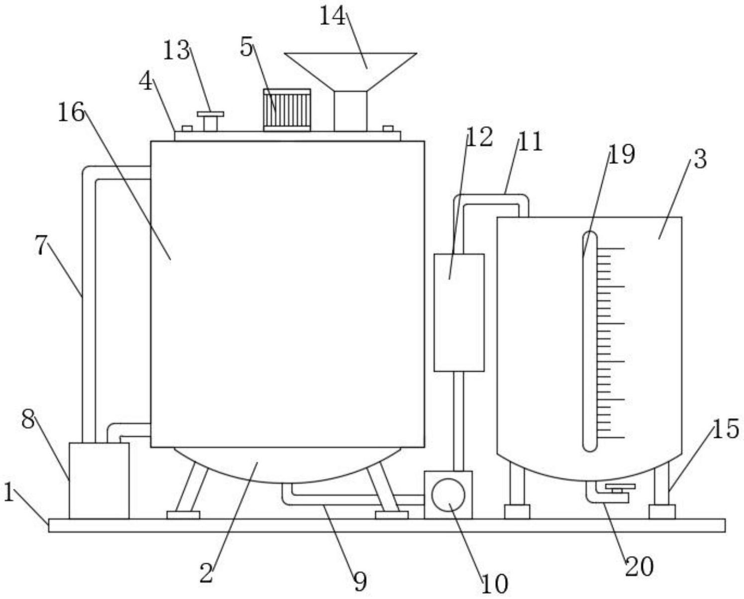
本实用新型提供了一种脱硝尿素溶解储存装置,涉及脱硝尿素生产领域,包括底座、溶解罐和储存罐,所述溶解罐的外侧壁螺旋环绕有蒸汽加热管,所述底座上表面位于溶解罐的一侧固定安装有蒸汽发生器,所述蒸汽加热管的两端均与蒸汽发生器连接,所述溶解罐的底部连接有出料管,所述出料管的一端连接有水泵,所述水泵的出口端与储存罐的顶部之间连接有送料管,所述送料管的中部安装有除杂筒。本申请通过蒸汽加热管和蒸汽发生器的设置,在溶解时,可启动蒸汽发生器向蒸汽加热管内通入蒸汽,使蒸汽加热管对溶解罐进行加热,提高溶解效率,通过除杂筒的设置,能够对溶液中的杂质进行过滤和吸附,提高溶液的成品质量。


