授权公布号:CN216433208U
一种高精度脱硝尿素生产用计量装置
有效
申请
2021-12-21
申请公布
1970-01-01
授权
2022-05-03
预估到期
2031-12-21
| 申请号 | CN202123221429.8 |
| 申请日 | 2021-12-21 |
| 授权公布号 | CN216433208U |
| 授权公告日 | 2022-05-03 |
| 分类号 | G01G19/00;G01G21/00;G01G21/02;G01G21/23 |
| 分类 | 测量;测试; |
| 申请人名称 | 湖北丰盈节能环保科技股份有限公司 |
| 申请人地址 | 湖北省荆门市东宝区工业园(子陵铺镇新桥一组) |
专利法律状态
2022-05-03
授权
状态信息
授权
摘要
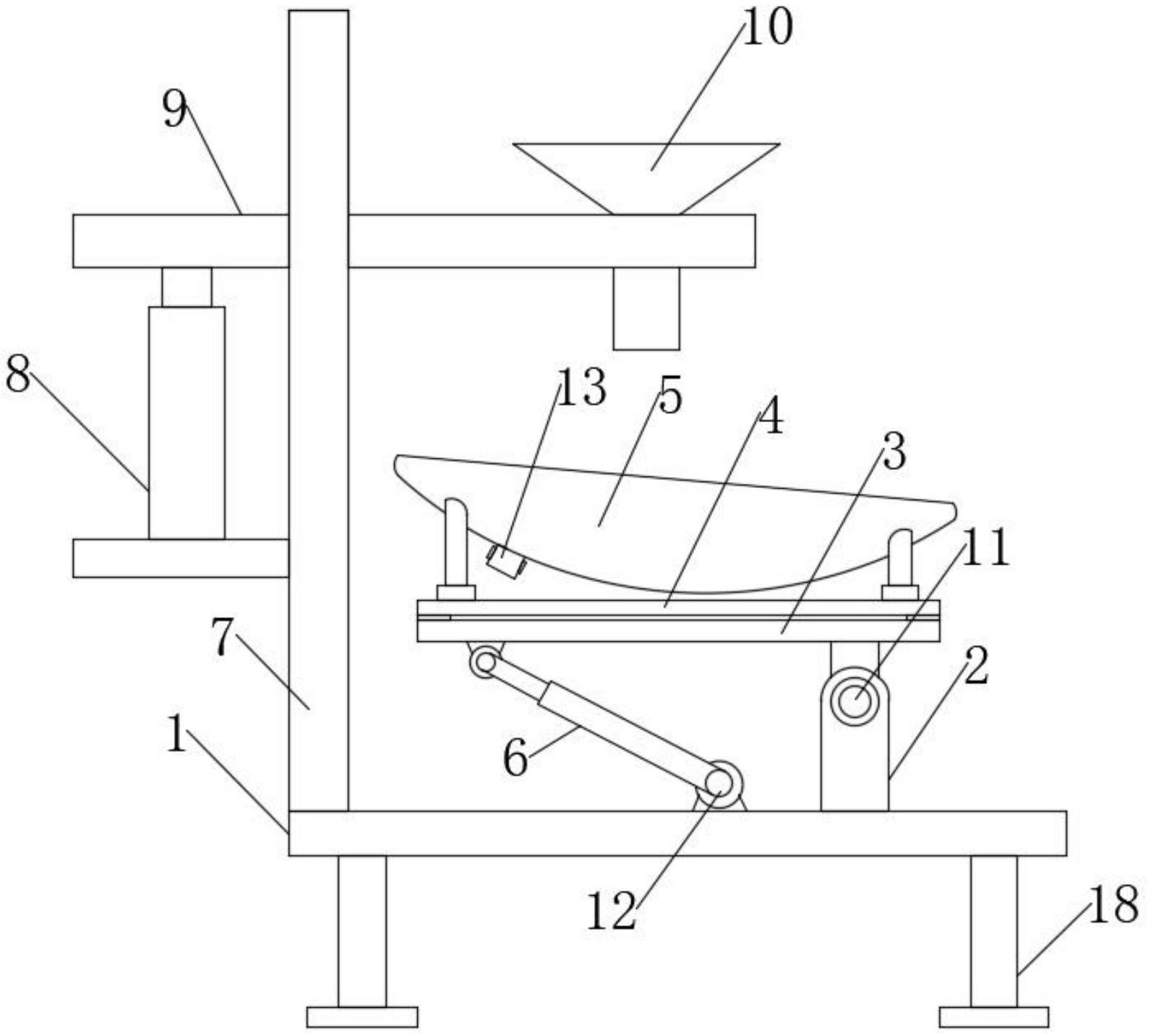
本实用新型提供了一种高精度脱硝尿素生产用计量装置,涉及脱硝尿素生产领域,包括底座,所述底座上表面的一侧固定安装有支架,所述支架的顶部转动安装有称座,所述称座的顶部安装有称板,所述称板的顶部安装有物料斗,所述底座上表面位于称座的下方转动安装有第一气缸,所述第一气缸的活塞杆与称座底部远离支架的一端转动连接。本申请通过支架和第一气缸的设置,在称量之后,可使用第一气缸带动物料斗绕支架翻转,从而可方便将物料斗内的脱硝尿素倒入容器内,提高工作效率,通过振动电机的设置,在倒料时,能够将物料斗内的物料抖出,避免物料残留在物料斗内影响二次称重精度。


