授权公布号:CN216808469U
一种尿素溶液排污回收处理装置
有效
申请
2021-12-22
申请公布
1970-01-01
授权
2022-06-24
预估到期
2031-12-22
| 申请号 | CN202123259199.4 |
| 申请日 | 2021-12-22 |
| 授权公布号 | CN216808469U |
| 授权公告日 | 2022-06-24 |
| 分类号 | C02F9/10;B01D36/00;B01D29/03;B01D29/96 |
| 分类 | 水、废水、污水或污泥的处理; |
| 申请人名称 | 湖北丰盈节能环保科技股份有限公司 |
| 申请人地址 | 湖北省荆门市东宝区工业园(子陵铺镇新桥一组) |
专利法律状态
2022-06-24
授权
状态信息
授权
摘要
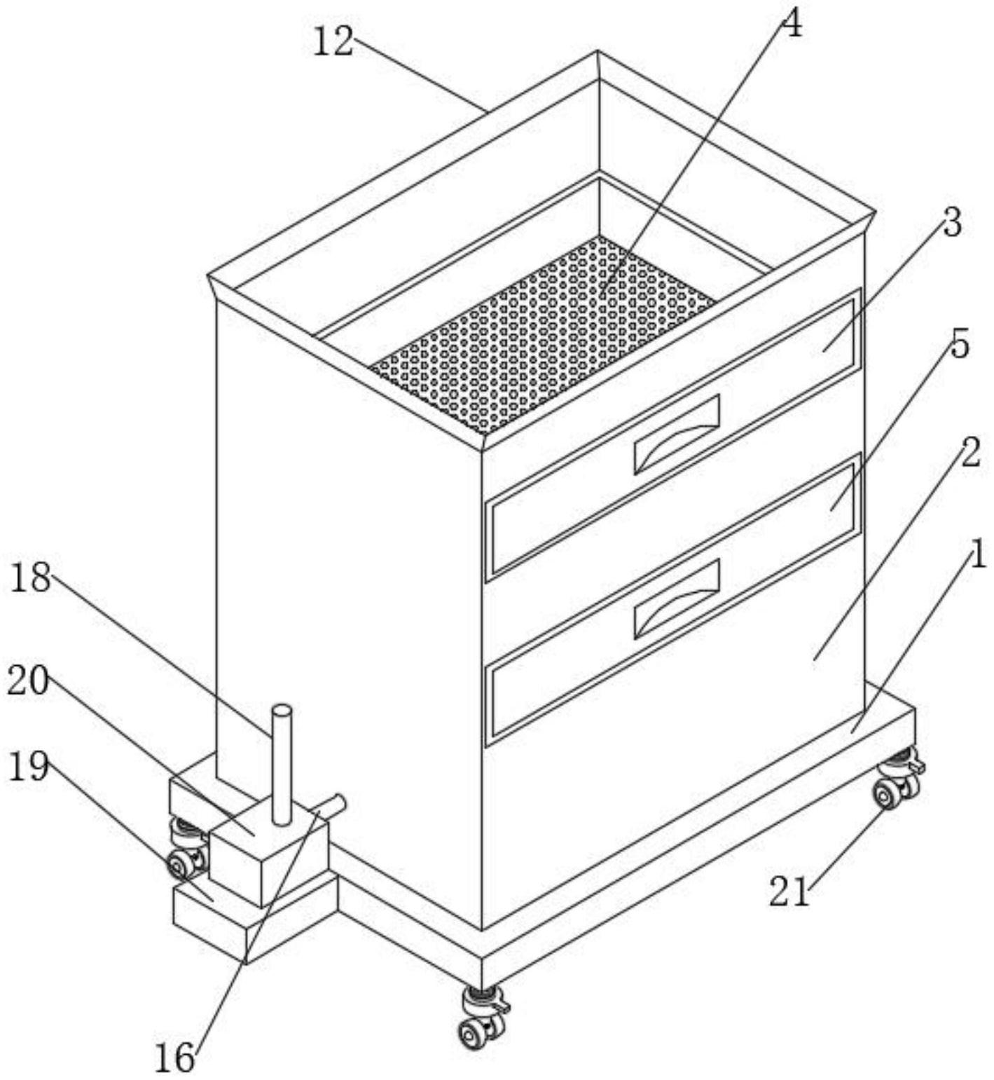
本实用新型提供了一种尿素溶液排污回收处理装置,涉及尿素生产领域,包括底板和回收箱,所述底板的顶部固定连接有回收箱,所述回收箱的内部活动连接有过滤箱,所述过滤箱的底部安装有过滤网,所述过滤箱的下方位于回收箱的内部活动连接有吸附箱,所述吸附箱的底部开设有活性炭吸附板,所述过滤箱和吸附箱的两侧均固定连接有滑块,所述吸附箱的底部设置有集存箱,所述集存箱的内部设置有加热管。本申请通过过滤网的设置,可对废液中的杂质进行过滤,通过活性炭吸附板的设置,可对废液中的杂质进行吸附,通过加热管的设置,能够对集存箱内的废液进行加热,加速废液的分离净化,提高废液的处理效率。


