授权公布号:CN220403908U
洗地机
有效
申请
2023-02-16
申请公布
1970-01-01
授权
2024-01-30
预估到期
2033-02-16
| 申请号 | CN202320235811.4 |
| 申请日 | 2023-02-16 |
| 授权公布号 | CN220403908U |
| 授权公告日 | 2024-01-30 |
| 分类号 | A47L11/30;A47L11/40 |
| 分类 | 家具;家庭用的物品或设备;咖啡磨;香料磨;一般吸尘器; |
| 申请人名称 | 广东德尔玛科技股份有限公司 |
| 申请人地址 | 广东省佛山市顺德区北滘镇马龙村委会龙汇路4号之一 |
专利法律状态
2024-01-30
授权
状态信息
授权
摘要
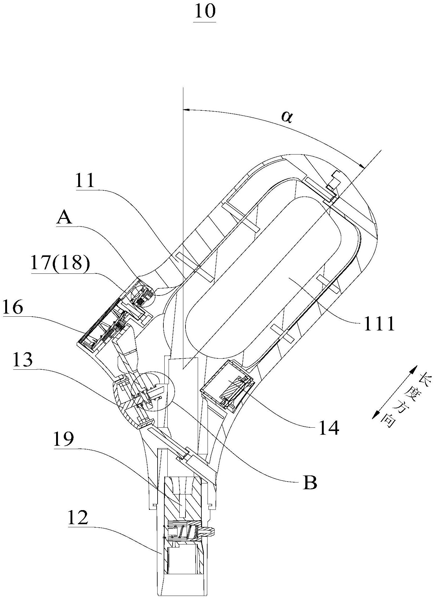
本实用新型公开了一种洗地机,洗地机包括:地刷;主体,主体与地刷可枢转地相连;把手,把手包括手柄和连接杆,连接杆与主体远离地刷的一端相连,手柄的握持方向与连接杆的轴线之间形成有夹角α,α满足关系式:25°≤α≤60°,把手设置有自清洁按键和喇叭,自清洁按键和喇叭分别位于把手内且位于连接杆轴线的两侧。由此,通过设置手柄的握持方向与连接杆的轴线之间形成有合适范围的夹角,可以使把手的角度符合人体工程学设计,这样可以提高把手的操作舒适性,另外在把手上设置有自清洁按键和喇叭,符合用户操作习惯,以便于用户使用,从而可以提升洗地机的使用便利性。


