授权公布号:CN212737592U
一种高分子纱门压花装置
有效
申请
2020-07-18
申请公布
1970-01-01
授权
2021-03-19
预估到期
2030-07-18
| 申请号 | CN202021440703.3 |
| 申请日 | 2020-07-18 |
| 授权公布号 | CN212737592U |
| 授权公告日 | 2021-03-19 |
| 分类号 | B44B5/00;B44B5/02 |
| 分类 | 装饰艺术; |
| 申请人名称 | 利辛县香樟纱门有限公司 |
| 申请人地址 | 新疆维吾尔自治区阿克苏地区阿克苏纺织工业城(开发区)甬江路6号 |
专利法律状态
2024-01-05
专利申请权、专利权的转移
状态信息
专利权的转移;IPC(主分类):B44B5/00;登记生效日:20231221;变更事项:专利权人;变更前:利辛县香樟纱门有限公司;变更后:新疆佳绣纺织有限公司;变更事项:地址;变更前:236700 安徽省亳州市利辛县城关镇淝河路东侧延陵大道北侧国际丝网城;变更后:843000 新疆维吾尔自治区阿克苏地区阿克苏纺织工业城(开发区)甬江路6号
2021-03-19
授权
状态信息
授权
摘要
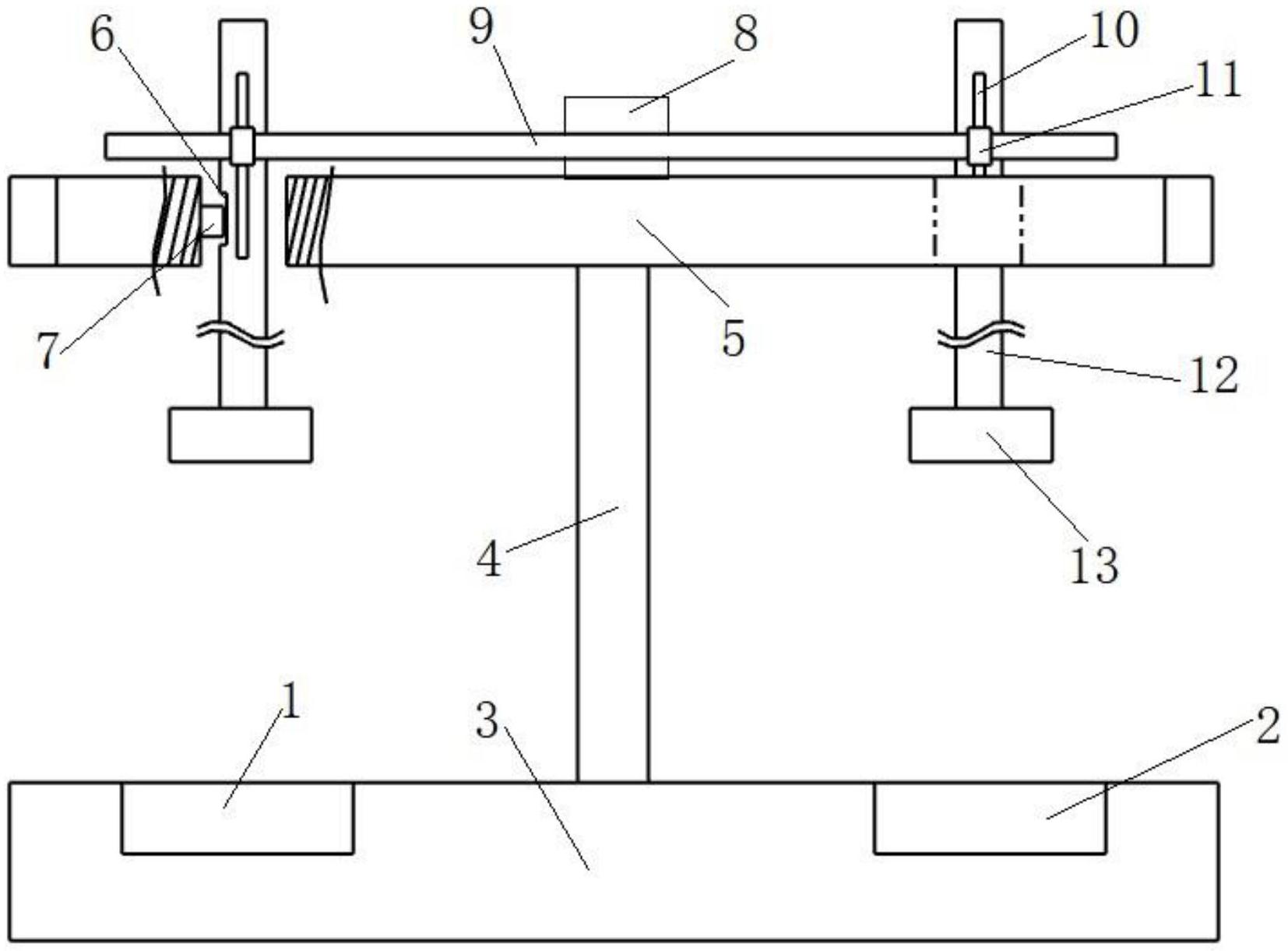
本实用新型公开了一种高分子纱门压花装置,包括工作台,工作台中间位置设置有支撑杆,支撑杆两侧分别设置有第一传送带和第二传送带,支撑杆上端垂直设置有支撑板,支撑板的中部与支撑杆连接,支撑板上端设置有转动杆,转动杆连接有驱动转动件,驱动转动件驱动转动杆转动,转动杆左部和右部上均套接有第一齿轮,支撑板左部和右部均开设有穿孔,支撑板左部和右部均设置有穿过穿孔的压花杆,压花杆侧壁上设置有与第一齿轮啮合传动连接的齿条,齿条与压花杆的轴线相互平行设置,压花杆下端设置有压花板,第一传送带和第二传送带分别位于两个压花板下方,本实用新型便于提高纱门压花的效率。


