授权公布号:CN213172977U
一种高分子纱门生产用去线头装置
有效
申请
2020-07-20
申请公布
1970-01-01
授权
2021-05-11
预估到期
2030-07-20
| 申请号 | CN202021430049.8 |
| 申请日 | 2020-07-20 |
| 授权公布号 | CN213172977U |
| 授权公告日 | 2021-05-11 |
| 分类号 | D06C13/00 |
| 分类 | 织物等的处理;洗涤;其他类不包括的柔性材料; |
| 申请人名称 | 利辛县香樟纱门有限公司 |
| 申请人地址 | 江苏省淮安市淮阴区淮河路与双坝路交叉口江淮科技园1号研发楼9楼910 |
专利法律状态
2022-07-08
专利申请权、专利权的转移
状态信息
专利权的转移;IPC(主分类):D06C 13/00;专利号:ZL2020214300498;登记生效日:20220624;变更事项:专利权人;变更前权利人:利辛县香樟纱门有限公司;变更后权利人:淮安晶彩新材料科技有限公司;变更事项:地址;变更前权利人:236700 安徽省亳州市利辛县城关镇淝河路东侧延陵大道北侧国际丝网城;变更后权利人:223300 江苏省淮安市淮阴区淮河路与双坝路交叉口江淮科技园1号研发楼9楼910
2021-05-11
授权
状态信息
授权
摘要
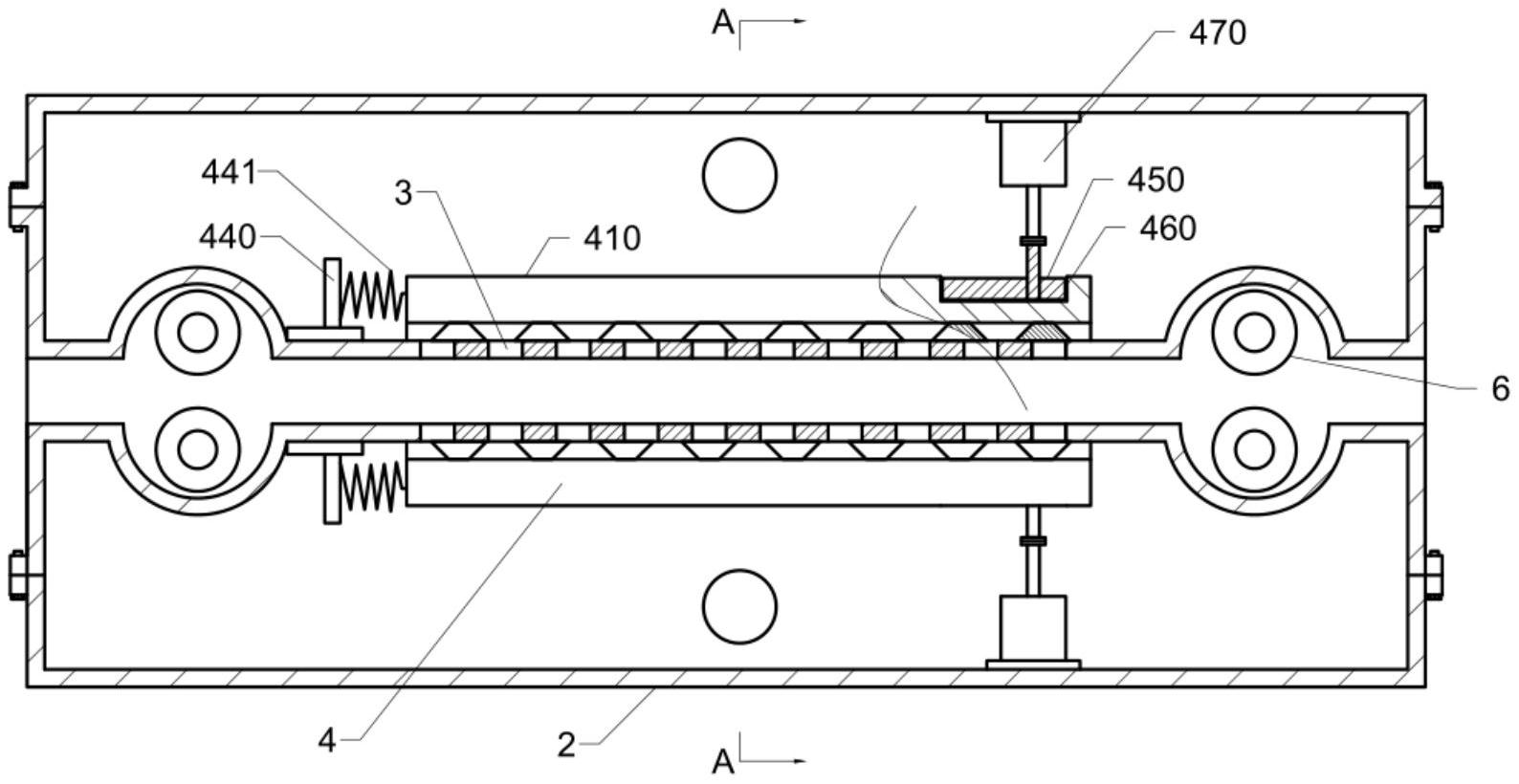
本实用新型提供了一种高分子纱门生产用去线头装置,包括:安装架,壳体,吸入口,切刀组件,抽风机,其中纱门经过吸入口时,抽风机的风力将线头带入吸风口,经由切刀组件往复运动切断线头,切断的线头为抽风机吸取并存放。设置有抽风机、吸入口和切刀组件,在使用时,首先线头经过风力带动进入吸风口,切刀组件经过凸轮推动,同时通过压缩弹簧回弹,实现在壳体内腔中往复运动,从而实现完成对线头的剪切。


