授权公布号:CN214535070U
抗冲击型金属波纹管补偿器
有效
申请
2021-03-02
申请公布
1970-01-01
授权
2021-10-29
预估到期
2031-03-02
| 申请号 | CN202120446476.3 |
| 申请日 | 2021-03-02 |
| 授权公布号 | CN214535070U |
| 授权公告日 | 2021-10-29 |
| 分类号 | F16L51/03 |
| 分类 | 工程元件或部件;为产生和保持机器或设备的有效运行的一般措施;一般绝热; |
| 申请人名称 | 江苏晨光波纹管有限公司 |
| 申请人地址 | 江苏省泰州市姜堰区娄庄镇工业集中区 |
专利法律状态
2021-10-29
授权
状态信息
授权
摘要
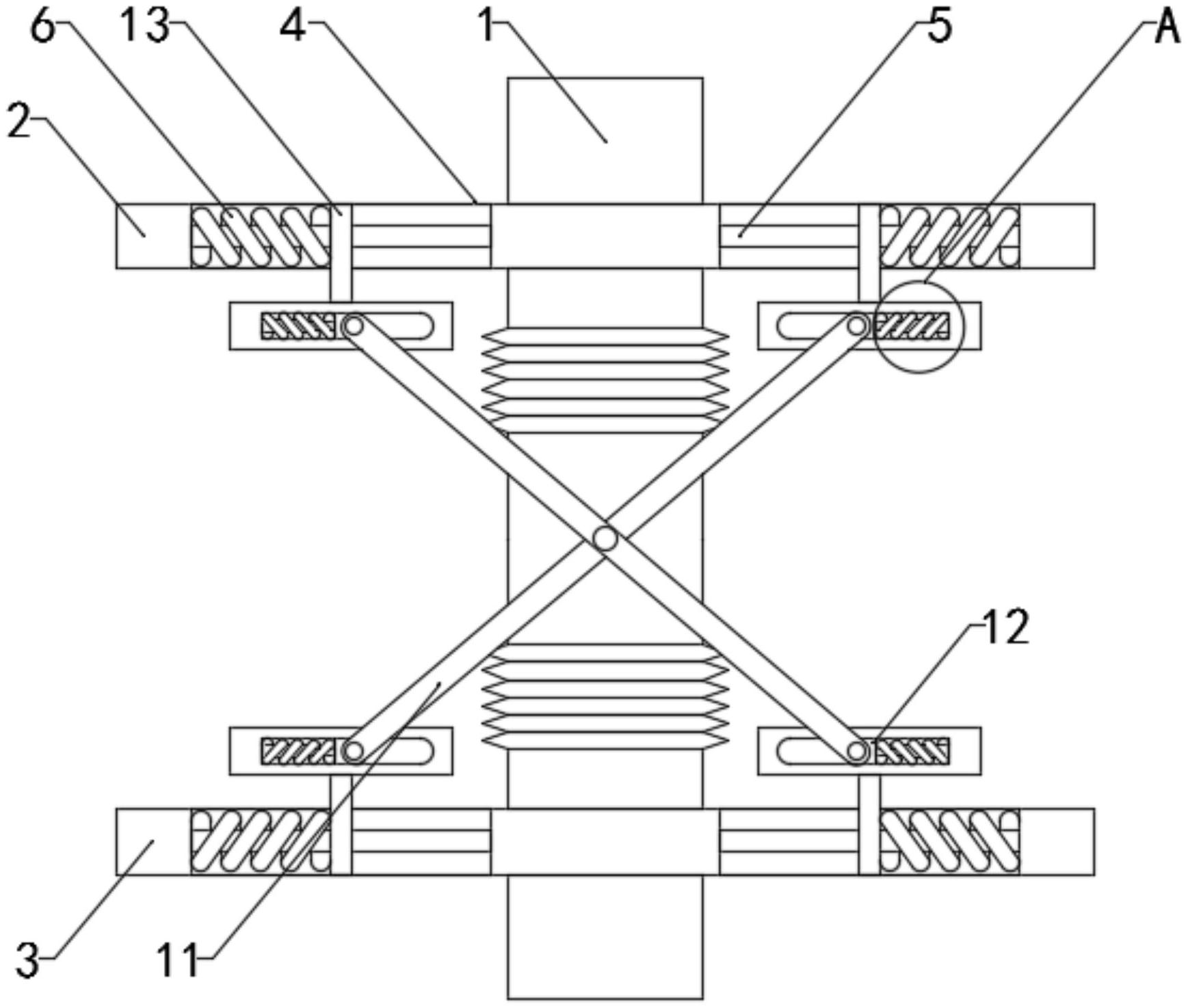
本实用新型公开了一种抗冲击型金属波纹管补偿器,包括补偿器本体,所述补偿器本体顶端和底端分别固定连接有上固定板和下固定板,所述上固定板和下固定板上均开设有两组对称设置的凹槽,多个所述凹槽两侧内表壁之间均设有固定杆,多个所述固定杆均滑动连接有连接块,所述连接块通过第一弹簧与凹槽内表壁弹性连接。本实用新型中,通过设置的第二弹簧的弹性形变和两个交叉设置的剪叉臂转动,减小传递至补偿器本体上的力,通过设置的第一弹簧的弹性形变和连接块沿着固定杆上移动可确保弹性形变量不会过大,从而保护金属波纹管补偿器的金属波纹管不会发生结构损伤。


