授权公布号:CN117053009B
一种高强度金属膨胀节
有效
申请
2023-10-13
申请公布
2023-11-14
授权
2023-12-15
预估到期
2043-10-13
| 申请号 | CN202311323113.0 |
| 申请日 | 2023-10-13 |
| 申请公布号 | CN117053009A |
| 申请公布日 | 2023-11-14 |
| 授权公布号 | CN117053009B |
| 授权公告日 | 2023-12-15 |
| 分类号 | F16L51/02;F16L23/024 |
| 分类 | 工程元件或部件;为产生和保持机器或设备的有效运行的一般措施;一般绝热; |
| 申请人名称 | 江苏博格东进管道设备有限公司 |
| 申请人地址 | 江苏省泰州市姜堰区娄庄镇白龙路188号 |
专利法律状态
2023-12-15
授权
状态信息
授权
2023-12-01
实质审查的生效
状态信息
实质审查的生效;IPC(主分类):F16L51/02;申请日:20231013
2023-11-14
公布
状态信息
公布
摘要
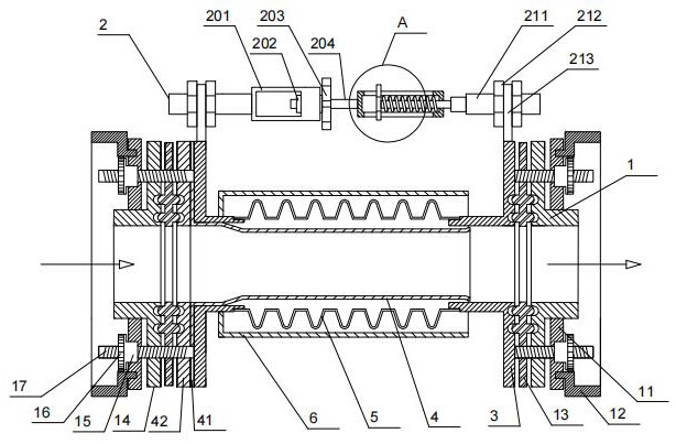
本发明涉及金属膨胀节应用技术领域,特别涉及一种高强度金属膨胀节,包括左右对称分布的两组内接法兰,左侧内接法兰为进液端,右侧内接法兰为出液端,两组所述内接法兰之间固定连接有波纹管,所述高强度金属膨胀节还包括:快装组件,对称设在两组所述内接法兰的外侧,用于快速将外部管道连接在膨胀节上;外支撑组件,设在两组所述内接法兰之间,用于对膨胀节进行外部支撑。本发明采用的快装组件能够通过外转环的转动同步控制多组锁紧螺栓和锁紧螺母套对外接法兰和内接法兰进行收紧,相比逐个拧紧锁紧螺栓和锁紧螺母套,工作效率显著提高,装拆方便,维护保养也便捷。


