授权公布号:CN206031841U
一种全自动面膜灌装机
有效
申请
2016-08-30
申请公布
1970-01-01
授权
2017-03-22
预估到期
2026-08-30
| 申请号 | CN201620987015.6 |
| 申请日 | 2016-08-30 |
| 授权公布号 | CN206031841U |
| 授权公告日 | 2017-03-22 |
| 分类号 | B65B3/04 |
| 分类 | 输送;包装;贮存;搬运薄的或细丝状材料; |
| 申请人名称 | 上海悦目化妆品有限公司 |
| 申请人地址 | 上海市浦东新区上丰路977号1幢B座858室 |
专利法律状态
2018-03-09
专利申请权、专利权的转移
状态信息
专利权的转移;IPC(主分类):B65B3/04;专利号:ZL2016209870156;登记生效日:20180222;变更事项:专利权人;变更前权利人:广州悦目生物科技有限公司;变更后权利人:上海悦目化妆品有限公司;变更事项:地址;变更前权利人:510800 广东省广州市花都区新华街庄贤路自编1号A;变更后权利人:200120 上海市浦东新区上丰路977号1幢B座858室
2017-03-22
实用新型专利权授予
状态信息
授权
摘要
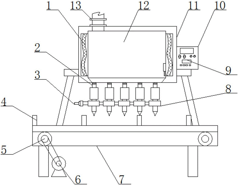
本实用新型公开了一种全自动面膜灌装机,包括电加热器和传动轴,所述传动轴嵌入安装在输送床的内部,所述输送床的上方安装有分隔板,且输送床的下方安装有伺服电机,所述输送床的上方设置有面膜液箱,所述面膜液箱的内部安装有面膜液仓,所述电加热器安装在面膜液仓的两侧,所述面膜液箱的顶部安装有进液管。本实用新型采用全自动化灌装工序,提高人力资源使用效率,电加热器能够保证面膜液的均匀快速下流,防止面膜液冷凝造成下流不顺畅的问题,分隔板将面膜袋批量分隔,便于统计面膜数量,微机控制装置内置定时器,伺服电机和按压器同步工作,避免面膜袋灌装遗漏,且灌装效率高,设置有扩口弹片,能够快速打开面膜袋口。


