授权公布号:CN208588249U
一种方便检修的出铁厂用集烟罩
有效
申请
2018-05-02
申请公布
1970-01-01
授权
2019-03-08
预估到期
2028-05-02
| 申请号 | CN201820655621.7 |
| 申请日 | 2018-05-02 |
| 授权公布号 | CN208588249U |
| 授权公告日 | 2019-03-08 |
| 分类号 | F27D17/00 |
| 分类 | 炉;窑;烘烤炉;蒸馏炉〔4〕; |
| 申请人名称 | 包头市泽润机械设备有限责任公司 |
| 申请人地址 | 内蒙古自治区包头市稀土开发区滨河新区创业大街以东、凤至路以北-机电工业园区 |
专利法律状态
2023-07-14
专利权质押合同登记的生效、变更及注销
状态信息
专利权质押合同登记的生效;IPC(主分类):F27D 17/00;专利号:ZL2018206556217;登记号:Y2023150000090;登记生效日:20230627;出质人:包头市泽润机械设备有限责任公司;质权人:中国银行股份有限公司包头市青山支行;实用新型名称:一种方便检修的出铁厂用集烟罩;申请日:20180502;授权公告日:20190308
2023-07-14
专利权质押合同登记的生效、变更及注销
状态信息
专利权质押合同登记的生效;IPC(主分类):F27D17/00;登记号:Y2023150000090;登记生效日:20230627;出质人:包头市泽润机械设备有限责任公司;质权人:中国银行股份有限公司包头市青山支行;实用新型名称:一种方便检修的出铁厂用集烟罩;申请日:20180502;授权公告日:20190308
2023-07-07
专利权质押合同登记的生效、变更及注销
状态信息
专利权质押合同登记的注销;IPC(主分类):F27D17/00;授权公告日:20190308;申请日:20180502;登记号:Y2022150000060;出质人:包头市泽润机械设备有限责任公司;质权人:中国银行股份有限公司包头市青山支行;解除日:20230620
2022-07-15
专利权质押合同登记的生效、变更及注销
状态信息
专利权质押合同登记的生效;IPC(主分类):F27D17/00;登记号:Y2022150000060;登记生效日:20220629;出质人:包头市泽润机械设备有限责任公司;质权人:中国银行股份有限公司包头市青山支行;实用新型名称:一种方便检修的出铁厂用集烟罩;申请日:20180502;授权公告日:20190308
2019-03-08
授权
状态信息
授权
摘要
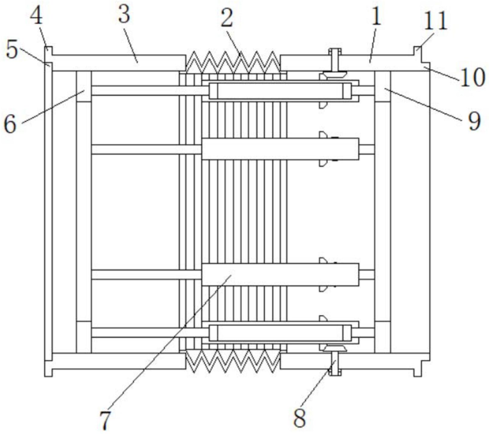
本实用新型公开了一种方便检修的出铁厂用集烟罩,包括第一连接筒、伸缩连接筒和第二连接筒,所述第一连接筒的筒内左端焊接有第一连接环板,所述第一连接环板的左端面均匀分布焊接伸缩杆右端,所述第二连接筒的筒内左端焊接有第二连接环板,所述第二连接环板的右端面焊接伸缩杆的左端,所述第一连接筒左端焊接伸缩连接筒右端;通过调节装置的调节,能够使得伸缩杆进行伸缩工作,同时通过伸缩杆连接第一连接筒与第二连接筒的特性,使得第一连接筒与第二连接筒之间的距离缩短,从而将该节集烟罩从整体中摘除,方便进行检修,同时通过伸缩连接筒的作用,使得该节的整体保证封闭性。


