授权公布号:CN210318886U
一种管件的连接结构
有效
申请
2019-08-01
申请公布
1970-01-01
授权
2020-04-14
预估到期
2029-08-01
| 申请号 | CN201921232714.X |
| 申请日 | 2019-08-01 |
| 授权公布号 | CN210318886U |
| 授权公告日 | 2020-04-14 |
| 分类号 | F16L13/02;F16L47/02 |
| 分类 | 工程元件或部件;为产生和保持机器或设备的有效运行的一般措施;一般绝热; |
| 申请人名称 | 浙江正康实业股份有限公司 |
| 申请人地址 | 浙江省温州市温州经济技术开发区滨海园区丁香路678号 |
专利法律状态
2020-04-14
授权
状态信息
授权
摘要
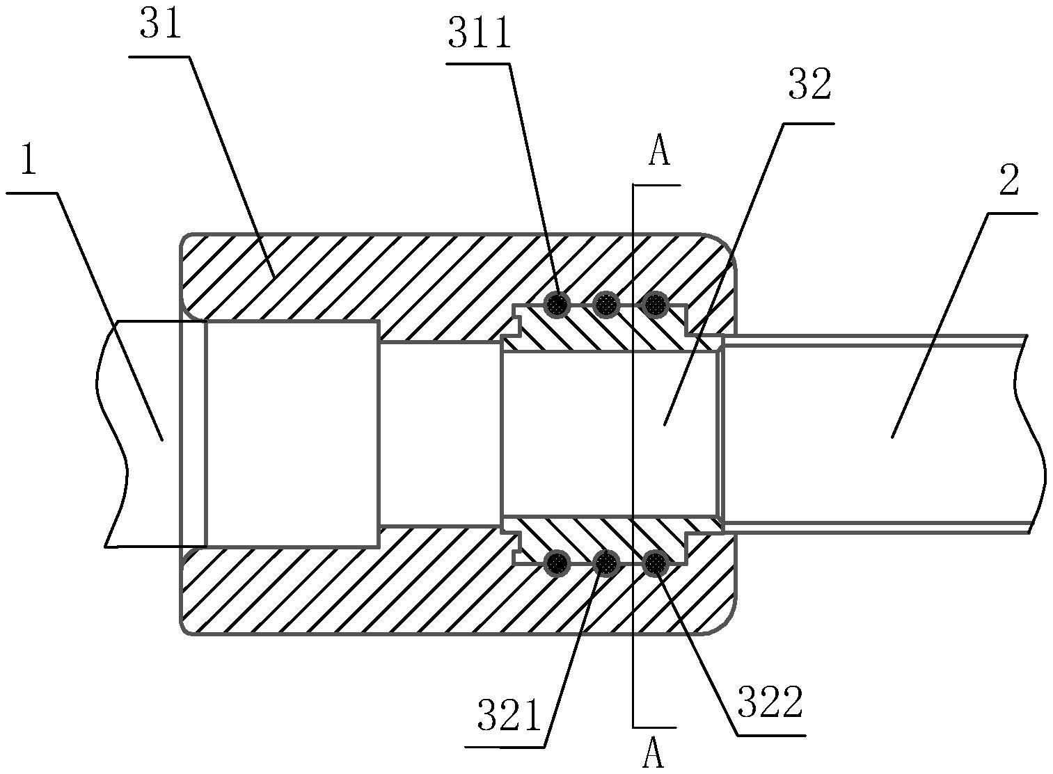
本实用新型公开了一种管件的连接结构,包括金属管件和塑料管件,还包括连接于金属管件和塑料管件之间的连接件;所述连接件包括塑料接头以及镶嵌在塑料接头内的金属接头,所述金属接头的外侧壁设有若干个内凹槽,若干个内凹槽沿金属接头轴线方向间隔分布;其中所述塑料接头的内侧壁设置有若干个外凹槽,若干个内凹槽与若干个外凹槽一一对应形成用于安装密封圈的密封凹槽;其中所述外凹槽与密封圈的外侧面紧密贴合,所述内凹槽的内侧壁与密封圈的内侧面紧密贴合;采用该连接结构仅需将金属管件与金属接头连接,塑料管件与塑料接头连接;无需在管件连接处使用生料带进行缠绕,且密封效果更好。


