授权公布号:CN212213072U
收衣柜
有效
申请
2020-04-21
申请公布
1970-01-01
授权
2020-12-25
预估到期
2030-04-21
| 申请号 | CN202020604371.1 |
| 申请日 | 2020-04-21 |
| 授权公布号 | CN212213072U |
| 授权公告日 | 2020-12-25 |
| 分类号 | A47B61/00 |
| 分类 | 家具;家庭用的物品或设备;咖啡磨;香料磨;一般吸尘器; |
| 申请人名称 | 武汉智码开门电子科技有限责任公司 |
| 申请人地址 | 湖北省武汉市武汉洪山区珞狮路147号大学生创业园5楼509室 |
专利法律状态
2020-12-25
授权
状态信息
授权
摘要
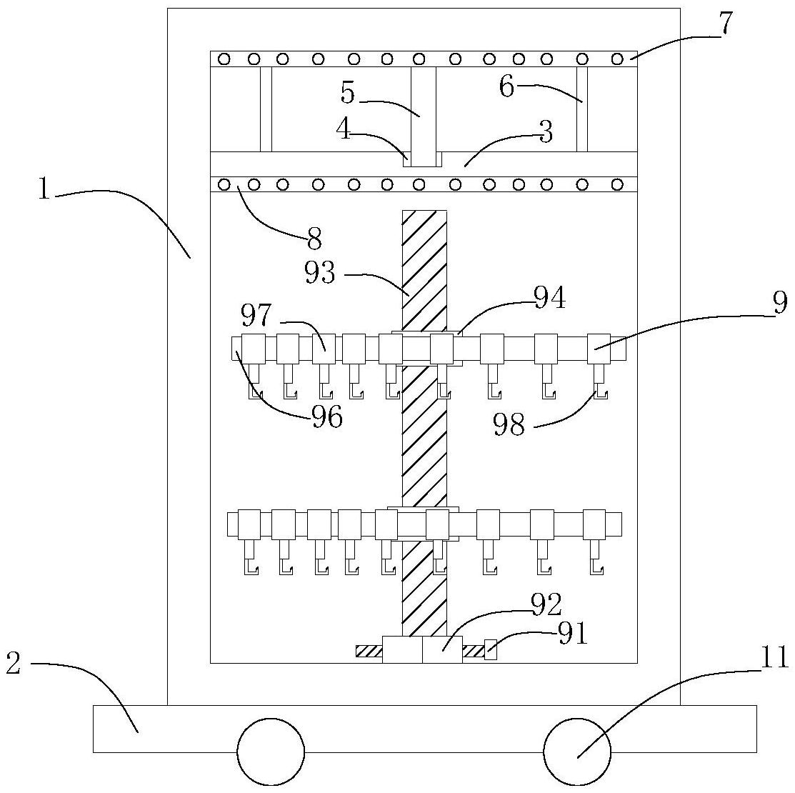
本实用新型涉及衣物存放技术领域,公开了收衣柜,包括器壳和固定板,还包括可拆卸挂衣旋转机构,器壳内腔的底壁与可拆卸挂衣旋转机构连接,固定板的两侧分别与器壳内腔的左壁和右壁固定连接,转杆外表面的底部与轴承的内环固定连接,轴承的外表面与固定板顶部开设的孔洞固定连接,隔板的底部与固定板的顶部贴合,可拆卸挂衣旋转机构包括:螺栓、螺纹杆、螺纹孔连接器和固定架,器壳内腔的底壁上安装有卡盘,螺栓穿过卡盘上的孔洞并与卡盘活动连接,卡盘的内表面与螺纹杆外表面的底部贴合,螺纹孔连接器通过内部螺纹孔与螺纹杆的外表面螺纹螺纹连接。本实用新型通过可拆卸挂衣旋转机构可以将不同季节的衣物进行分类并节省储物空间。


