授权公布号:CN220591603U
新型卡爪结构及卡爪调节装置
有效
申请
2023-08-25
申请公布
1970-01-01
授权
2024-03-15
预估到期
2033-08-25
| 申请号 | CN202322296203.7 |
| 申请日 | 2023-08-25 |
| 授权公布号 | CN220591603U |
| 授权公告日 | 2024-03-15 |
| 分类号 | B23B31/10;B25B11/00 |
| 分类 | 机床;不包含在其他类目中的金属加工; |
| 申请人名称 | 上海剑平动平衡机制造有限公司 |
| 申请人地址 | 上海市宝山区罗泾镇潘川路2151号5幢厂房 |
专利法律状态
2024-03-15
授权
状态信息
授权
摘要
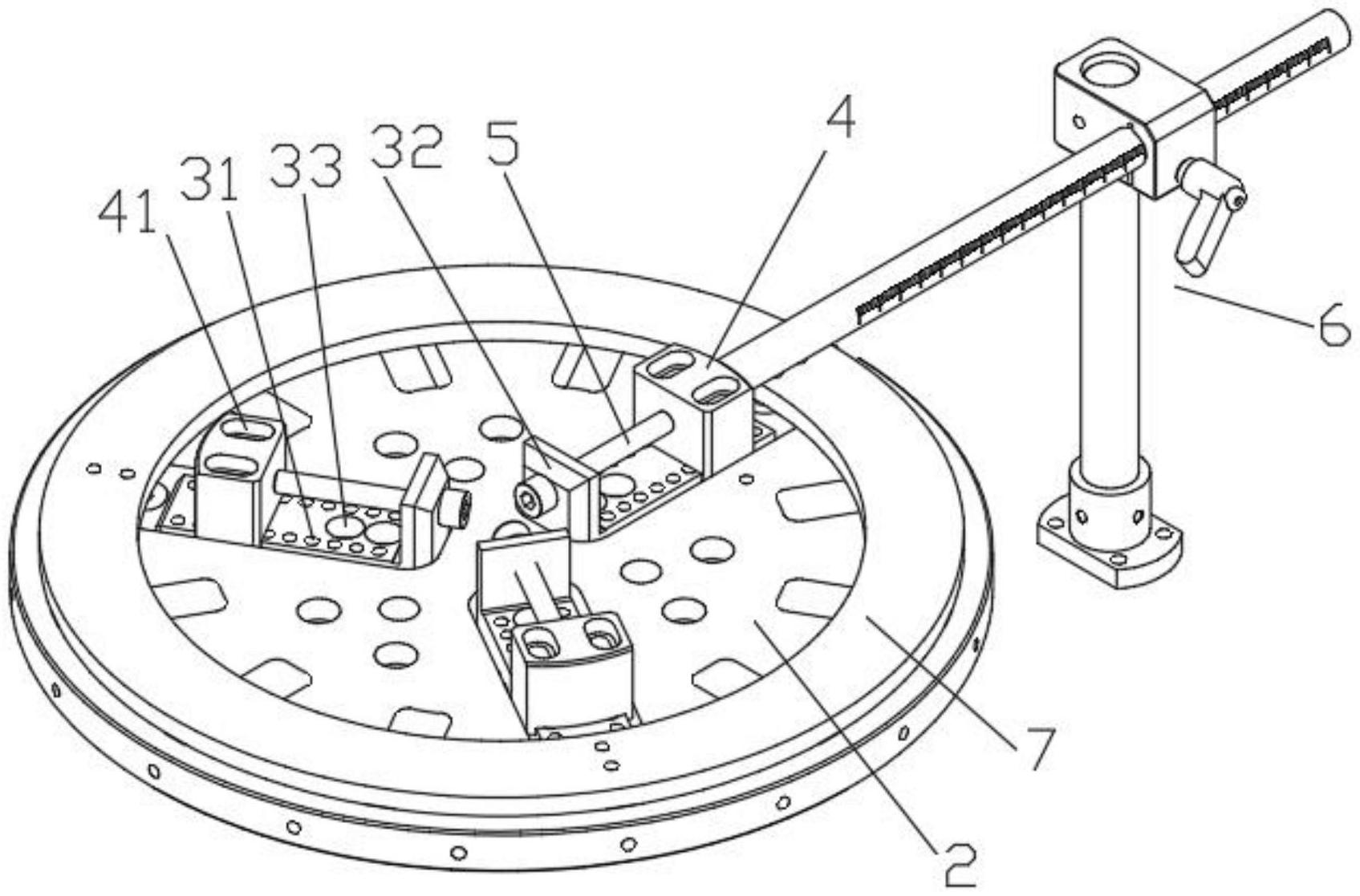
本实用新型属于卡爪制造加工技术领域,公开了一种新型卡爪结构及卡爪调节装置。其中包括标准卡盘、托盘、基爪和卡爪,托盘安装在标准卡盘上,托盘上安装有工件,标准卡盘和托盘同轴,标准卡盘上安装有滑动块,托盘上设置有安装槽,滑动块沿标准卡盘径向在安装槽内往复移动,滑动块上安装有基爪,基爪上滑动安装有卡爪,卡爪沿标准卡盘径向移动,新型卡爪结构和卡爪调节装置相互配合;解决现有技术下卡爪在根据不同零件进行半径调节后,误差较大,并且单独对不同工件进行对应卡爪加工成本较高的问题。


