授权公布号:CN213487294U
一种急钮面
有效
申请
2020-09-22
申请公布
1970-01-01
授权
2021-06-22
预估到期
2030-09-22
| 申请号 | CN202022080023.1 |
| 申请日 | 2020-09-22 |
| 授权公布号 | CN213487294U |
| 授权公告日 | 2021-06-22 |
| 分类号 | A44B17/00 |
| 分类 | 服饰缝纫用品;珠宝; |
| 申请人名称 | 东莞市钮纽实业有限公司 |
| 申请人地址 | 广东省东莞市石排镇福隆上下街工业路10号 |
专利法律状态
2021-06-22
授权
状态信息
授权
摘要
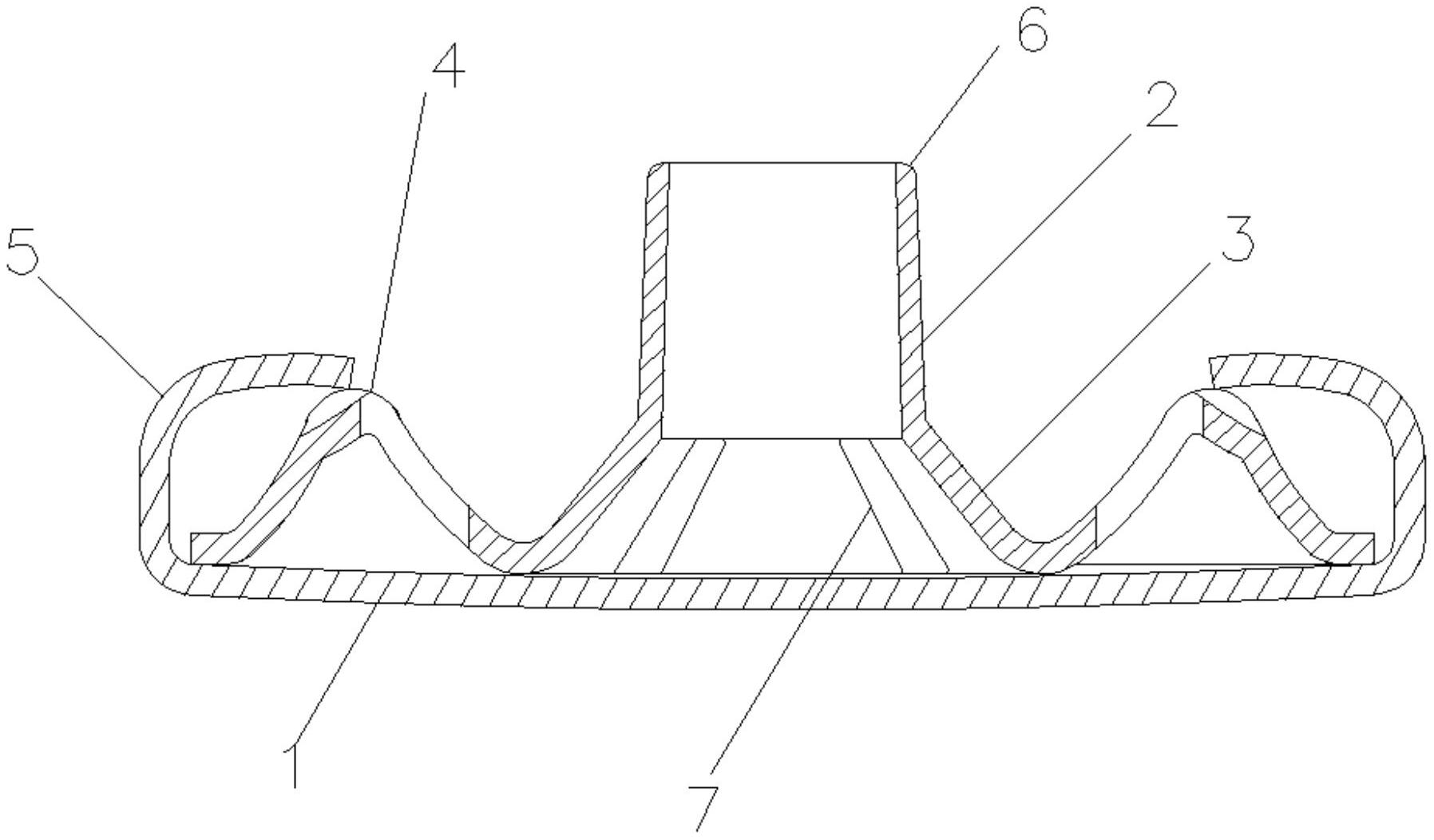
本实用新型公开一种急钮面;包括纽扣面和锥形管,锥形管的一端设有喇叭管,喇叭管的边缘弯折出有一V形凸起,纽扣面的边缘弯折出有一U形卡边,U形卡边卡接在V形凸起上。本实用新型采用喇叭管和锥形管的设计方式,能够加强该急钮面的受力支撑强度;锥管的末端拉伸变薄减少卷边阻力;设置V形凸起,能够使急钮面支撑铆合的钮面饱满;喇叭管加4条加强筋能够防止锥形管的末端受模具卷边力后下锉损伤钮面。本实用新型结构简单、组合牢固,能够防止铆合变形,提高使用寿命。


