授权公布号:CN214419164U
一种砂浆涂料加工上料装置
有效
申请
2021-01-20
申请公布
1970-01-01
授权
2021-10-19
预估到期
2031-01-20
| 申请号 | CN202120155840.0 |
| 申请日 | 2021-01-20 |
| 授权公布号 | CN214419164U |
| 授权公告日 | 2021-10-19 |
| 分类号 | B28C5/14;B28C7/10;B28C5/08 |
| 分类 | 加工水泥、黏土或石料; |
| 申请人名称 | 安徽丝买建材科技有限公司 |
| 申请人地址 | 安徽省合肥市南二环与宿松路交口绿地中心春晓街3幢3层商铺308-309 |
专利法律状态
2021-10-19
授权
状态信息
授权
摘要
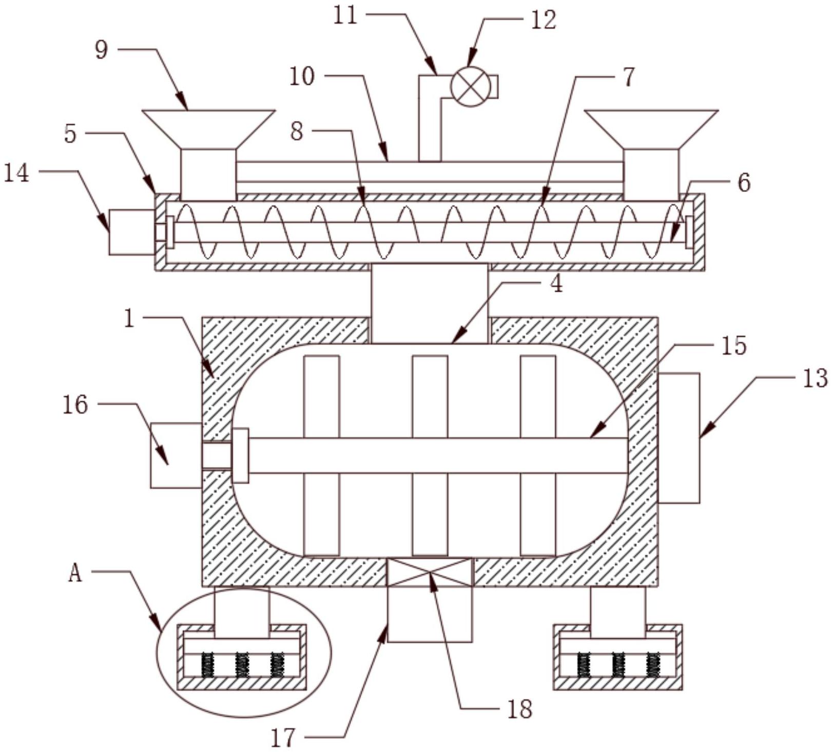
本实用新型属于砂浆加工技术领域,尤其为一种砂浆涂料加工上料装置,包括混合箱,所述混合箱的正面设有观察窗,且所述混合箱的底部安装有缓冲机构,所述混合箱的顶部安装有下料管,所述下料管的顶端连接有输料管,所述输料管内转动安装有推料轴,所述推料轴的表面分别固定安装有多个左螺旋叶片和右螺旋叶片,所述输料管的顶部安装有两个进料漏斗,两个所述进料漏斗相互靠近的一侧连接有同一个连接管。本实用新型操作便捷,上料方便,使得沙子和胶合材料在进入到混合箱之前进行初步混合,大大缩短了后续混合箱内搅拌时间,同时便于上料的同时能够便于对上料后管道内残留的余料进行回收和冲洗。


