授权公布号:CN214575872U
一种砂浆涂料厚度固定装置
有效
申请
2021-01-07
申请公布
1970-01-01
授权
2021-11-02
预估到期
2031-01-07
| 申请号 | CN202120035895.8 |
| 申请日 | 2021-01-07 |
| 授权公布号 | CN214575872U |
| 授权公告日 | 2021-11-02 |
| 分类号 | E04G21/20 |
| 分类 | 建筑物; |
| 申请人名称 | 安徽丝买建材科技有限公司 |
| 申请人地址 | 安徽省合肥市南二环与宿松路交口绿地中心春晓街3幢3层商铺308-309 |
专利法律状态
2021-11-02
授权
状态信息
授权
摘要
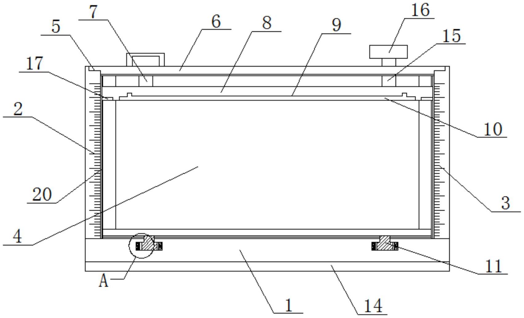
本实用新型公开了一种砂浆涂料厚度固定装置,包括底板,所述底板的上部两侧安装有第一标尺竖直板和第二标尺竖直板,所述第一标尺竖直板和所述第二标尺竖直板的后端安装有竖直面板,所述第一标尺竖直板和所述第二标尺竖直板的顶端嵌合安装有固定板,所述固定板上一侧安装有电动伸缩杆,所述电动伸缩杆贯穿所述固定板并延伸至固定板下侧安装有下压板,所述下压板的底部嵌入安装有防护板,所述底板的上端面近前部开设有两个相对称的卡槽,所述卡槽内对称安装有两个通过阻尼弹簧连接的限位板。本实用新型整体设计合理,实用性强,实现了砂浆涂料的厚度测量,可以定高,同时对定好的砂浆涂层厚度进行有效固定。


