授权公布号:CN214725230U
一种用于自流平砂浆的原料混合处理装置
有效
申请
2021-01-25
申请公布
1970-01-01
授权
2021-11-16
预估到期
2031-01-25
| 申请号 | CN202120200646.X |
| 申请日 | 2021-01-25 |
| 授权公布号 | CN214725230U |
| 授权公告日 | 2021-11-16 |
| 分类号 | B28C5/08;B28C5/16;B28C5/14 |
| 分类 | 加工水泥、黏土或石料; |
| 申请人名称 | 安徽丝买建材科技有限公司 |
| 申请人地址 | 安徽省合肥市南二环与宿松路交口绿地中心春晓街3幢3层商铺308-309 |
专利法律状态
2021-11-16
授权
状态信息
授权
摘要
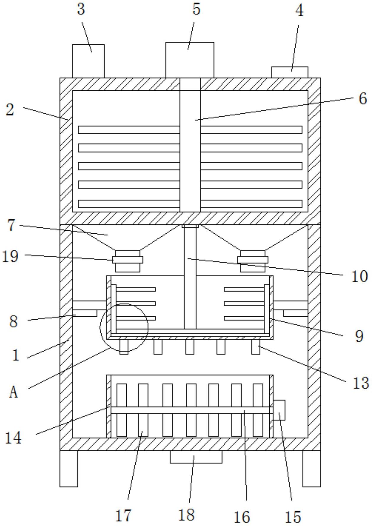
本实用新型公开了一种用于自流平砂浆的原料混合处理装置,包括加工仓,所述加工仓顶部固定连接有搅拌室,所述搅拌室顶部一侧固定连接有进料口,所述搅拌室顶部另一侧固定连接有进水口,所述搅拌室固定连接有驱动电机,所述驱动电机输出轴于搅拌室内固定连接有搅拌架,所述搅拌室底部两侧于加工仓内均固定连接有下料斗,所述下料斗上安装有调节阀,所述加工仓内壁两侧均固定连接有托板,两个所述托板顶部安装有同一个储料盆,所述搅拌架底部于加工仓内竖直安装有连杆,所述连杆底端于储料盆内固定连接有拨动杆,所述拨动杆两端均固定连接有翻料架。本实用新型提高砂浆加工的效率和质量,使用效果好,能够让原料均匀混合,混合处理的方式多样。


