授权公布号:CN214426594U
一种用于自流平砂浆的厚度测量装置
有效
申请
2021-01-18
申请公布
1970-01-01
授权
2021-10-19
预估到期
2031-01-18
| 申请号 | CN202120128112.0 |
| 申请日 | 2021-01-18 |
| 授权公布号 | CN214426594U |
| 授权公告日 | 2021-10-19 |
| 分类号 | G01B5/06 |
| 分类 | 测量;测试; |
| 申请人名称 | 安徽丝买建材科技有限公司 |
| 申请人地址 | 安徽省合肥市南二环与宿松路交口绿地中心春晓街3幢3层商铺308-309 |
专利法律状态
2021-10-19
授权
状态信息
授权
摘要
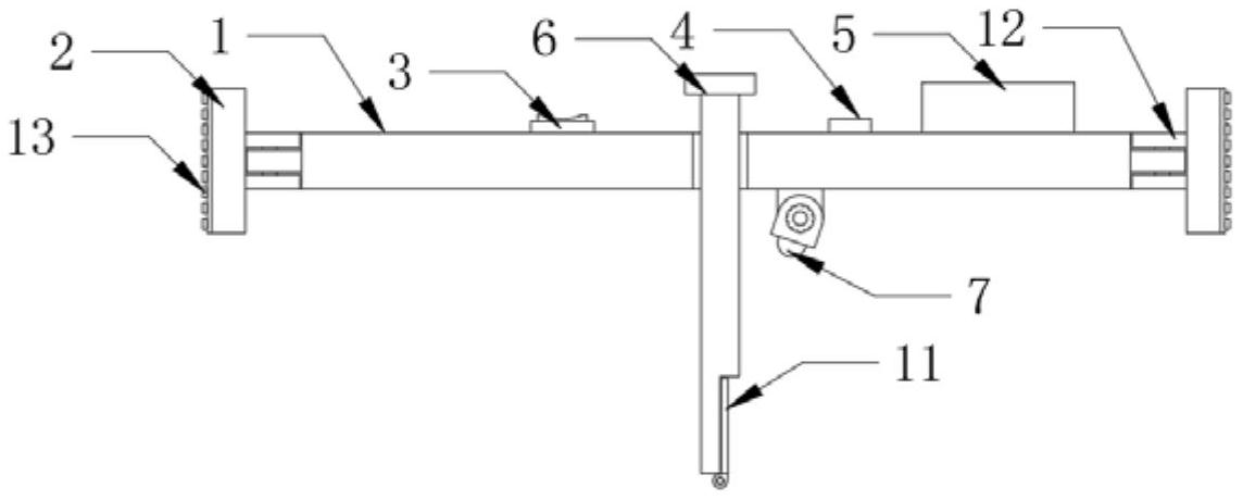
本实用新型属于厚度测量技术领域,尤其为一种用于自流平砂浆的厚度测量装置,包括支撑主体,所述支撑主体两端转动安装有挤压板,所述支撑主体顶端卡接安装有开关,所述支撑主体顶端卡接安装有水平仪和蓄电池,所述支撑主体顶端插接安装有定点杆,所述支撑主体底端转动安装有激光灯,所述挤压板相互靠近的一侧转动安装有螺杆,所述螺杆相互靠近的一端螺纹安装有螺纹管,所述支撑主体一侧插接安装有定位螺栓,所述定位螺栓一端贯穿支撑主体并与定点杆相抵,所述定点杆底端转动安装有刻度尺,所述挤压板相互靠近的一侧焊接安装有连接件,所述连接件与支撑主体转动连接。本实用新型整体设计合理,使用方便,有效的保护施工地面的平整性。


