授权公布号:CN214561885U
一种纤维水泥自流平砂浆生产用混合搅拌设备
有效
申请
2021-01-14
申请公布
1970-01-01
授权
2021-11-02
预估到期
2031-01-14
| 申请号 | CN202120100712.6 |
| 申请日 | 2021-01-14 |
| 授权公布号 | CN214561885U |
| 授权公告日 | 2021-11-02 |
| 分类号 | B28C5/14;B28C7/04;B28C7/16 |
| 分类 | 加工水泥、黏土或石料; |
| 申请人名称 | 安徽丝买建材科技有限公司 |
| 申请人地址 | 安徽省合肥市南二环与宿松路交口绿地中心春晓街3幢3层商铺308-309 |
专利法律状态
2021-11-02
授权
状态信息
授权
摘要
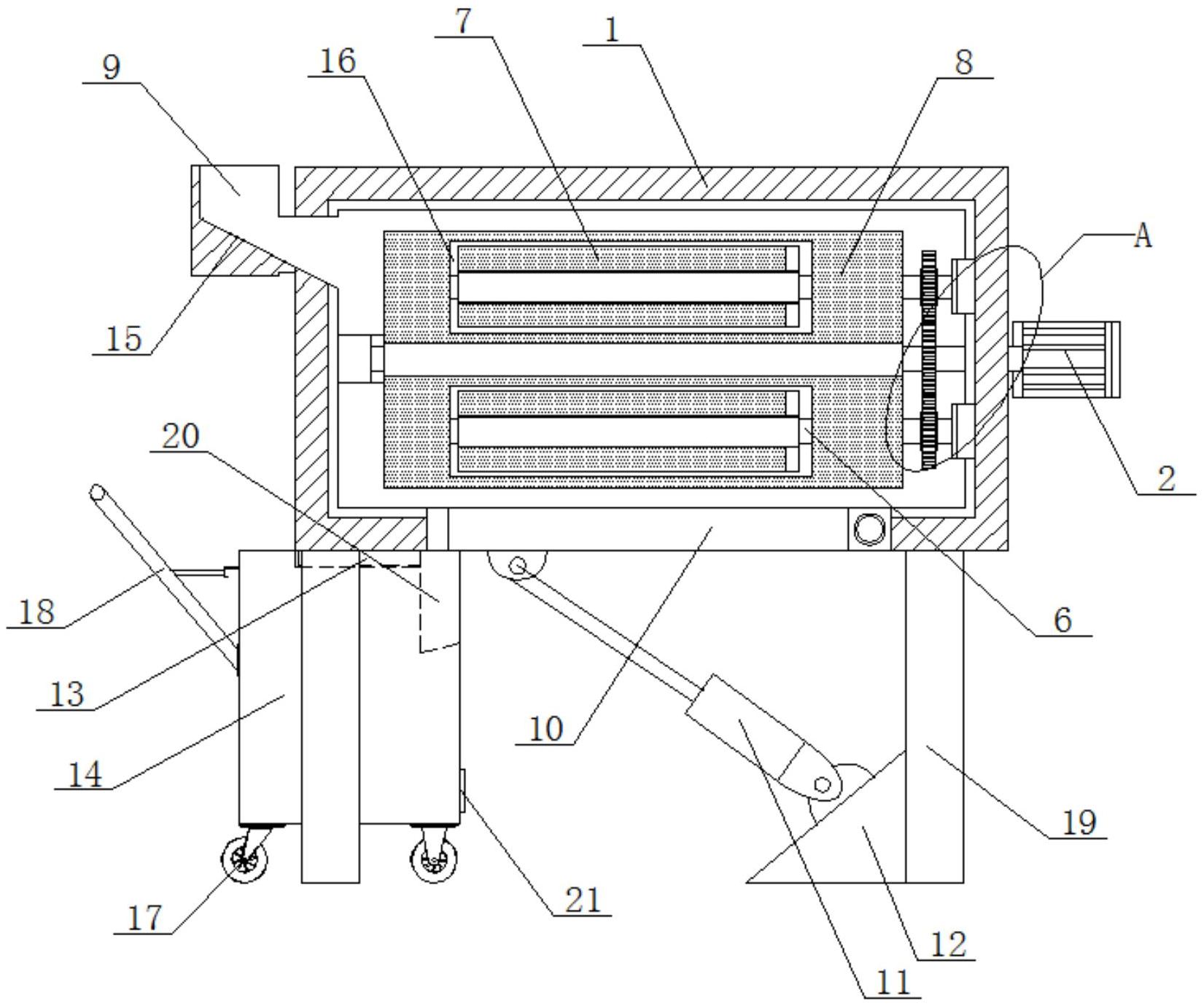
本实用新型公开了一种纤维水泥自流平砂浆生产用混合搅拌设备,包括箱体,所述箱体外一侧安装有搅拌电机,所述搅拌电机的输出端通过联轴器连接安装有主转杆,所述主转杆上套接固定安装有驱动齿轮,所述驱动齿轮的上下端安装有从动齿轮,上下端所述从动齿轮的内圈均套接固定安装有从转杆,所述箱体的底部安装有挡板,所述挡板的下端面且远离挡板和箱体的连接处通过转轴安装有液压伸缩杆,所述液压伸缩杆的动力端安装有固定锥块,所述挡板的另一端且在所述箱体底部滑动安装有接料箱。本实用新型实现了自流平砂浆的充分混合搅拌,同时设计的接料箱便于混合搅拌完成的原料顺利下料,生产效率有助于快速提高,具有使用效果好等优点。


