授权公布号:CN214420901U
一种水泥自流平砂浆生产用自动装袋机构
有效
申请
2021-01-25
申请公布
1970-01-01
授权
2021-10-19
预估到期
2031-01-25
| 申请号 | CN202120198633.3 |
| 申请日 | 2021-01-25 |
| 授权公布号 | CN214420901U |
| 授权公告日 | 2021-10-19 |
| 分类号 | B65B63/00;B65B1/12;B65B57/14;B65G69/14 |
| 分类 | 输送;包装;贮存;搬运薄的或细丝状材料; |
| 申请人名称 | 安徽丝买建材科技有限公司 |
| 申请人地址 | 安徽省合肥市南二环与宿松路交口绿地中心春晓街3幢3层商铺308-309 |
专利法律状态
2021-10-19
授权
状态信息
授权
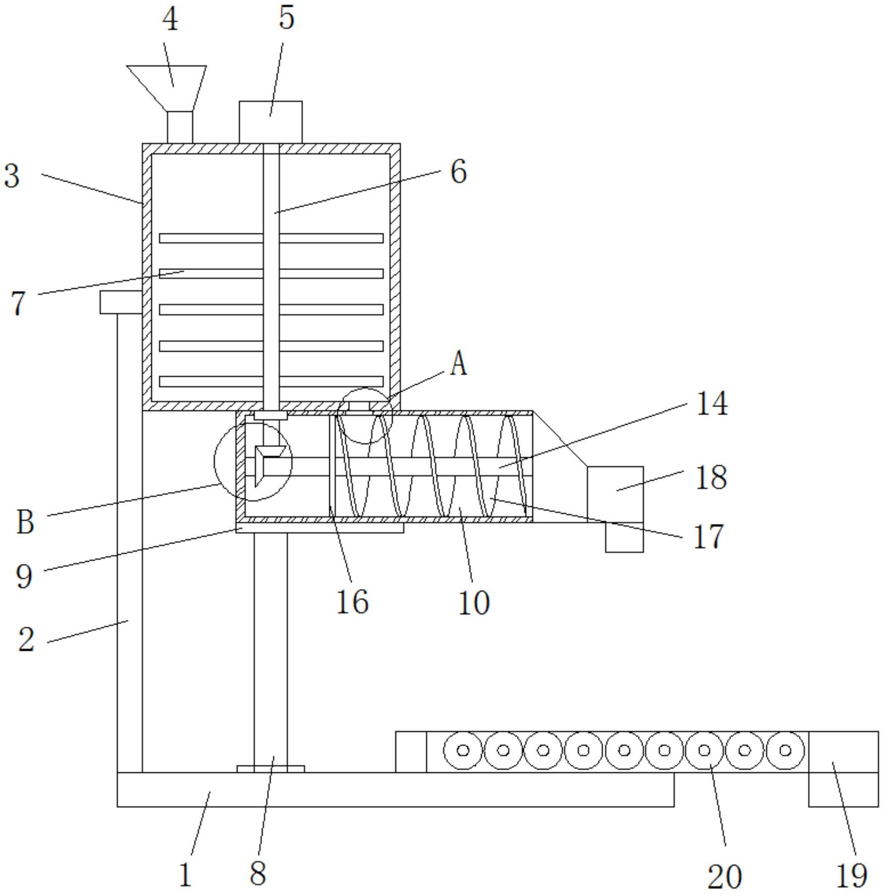
摘要
本实用新型公开了一种水泥自流平砂浆生产用自动装袋机构,包括底座,所述底座顶部一侧固定连接有支撑杆,所述支撑杆一侧安装有储料桶,所述储料桶顶部一侧固定连接有进料斗,所述储料桶顶部固定连接有驱动电机,所述驱动电机输出轴于储料桶内部固定连接有轴杆,所述轴杆两侧均固定连接有拨杆,所述底座顶部转动连接有立柱,所述立柱顶部固定连接有托板,所述托板顶部安装有输送仓,所述输送仓顶部与储料桶底部相抵接,所述轴杆底部贯穿储料桶于输送仓内固定连接有传动锥齿轮,所述储料桶底部一侧开设有下料口。本实用新型可以在装袋前对砂浆料结块进行打散破碎处理,使用效果好,能够实现砂浆料自动装袋,还能调整装袋速度,提高装袋的效率。


