授权公布号:CN217658577U
一种智能型精华瓶
有效
申请
2021-12-20
申请公布
1970-01-01
授权
2022-10-28
预估到期
2031-12-20
| 申请号 | CN202123208695.7 |
| 申请日 | 2021-12-20 |
| 授权公布号 | CN217658577U |
| 授权公告日 | 2022-10-28 |
| 分类号 | A45D34/00 |
| 分类 | 手携物品或旅行品; |
| 申请人名称 | 上海商路网络科技有限公司 |
| 申请人地址 | 上海市嘉定区嘉定镇博乐路70号36幢4层JT2757室 |
专利法律状态
2022-10-28
授权
状态信息
授权
摘要
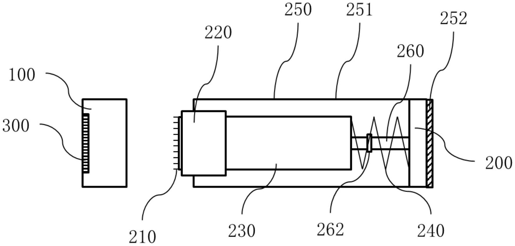
本实用新型一方面在于提供一种智能型精华瓶。智能型精华瓶包括瓶盖与瓶身,瓶盖与瓶身相连。瓶身包括微针、微针安装部、推杆、复位装置和外壳,微针设置于微针安装部上,至少部分的微针安装部、推杆和复位装置设置于外壳内,且至少部分的微针安装部和推杆可以在外壳内移动,微针安装部与推杆固定连接,推杆与复位装置相连,复位装置与外壳的底部的内壁相连。智能型精华瓶进一步包括NFC芯片,NFC芯片设置于瓶盖和/或瓶身的外表面上。该智能型精华瓶具有结构简单、可靠性高、生产成本低、使用效果好、适用场景丰富等优点。


