授权公布号:CN215071246U
一种具有多层抽屉结构的低压开关柜
有效
申请
2021-06-08
申请公布
1970-01-01
授权
2021-12-07
预估到期
2031-06-08
| 申请号 | CN202121270553.0 |
| 申请日 | 2021-06-08 |
| 授权公布号 | CN215071246U |
| 授权公告日 | 2021-12-07 |
| 分类号 | H02B1/56;H02B11/127;H02B1/32;H02B1/36;H02B1/30;H02B11/02 |
| 分类 | 发电、变电或配电; |
| 申请人名称 | 深圳市胜驰新能源电气有限公司 |
| 申请人地址 | 广东省深圳市龙华区福城街道福民社区核电工业园4号101 |
专利法律状态
2021-12-07
授权
状态信息
授权
摘要
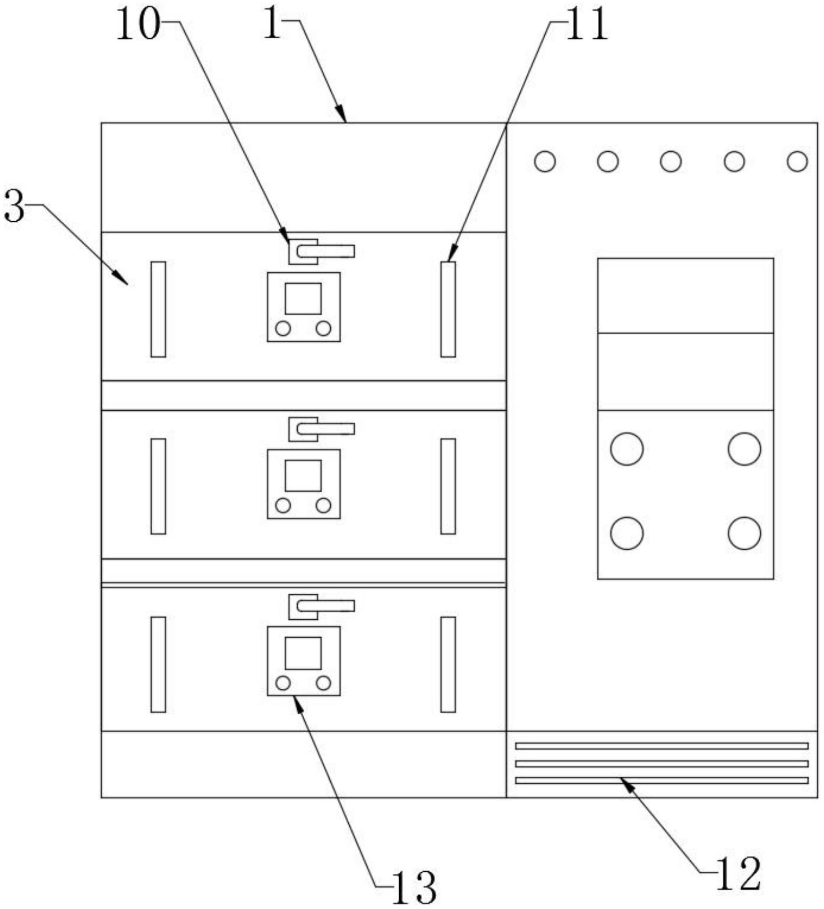
本实用新型公开了一种具有多层抽屉结构的低压开关柜,涉及低压开关柜领域,针对现有的部分低压开关柜的不具备多层抽屉结构,存在安装较为麻烦,同时散热效果较差的问题,现提出如下方案,其包括主体,所述主体内部设置有第一安装板,所述第一安装板上方设置有抽屉,所述抽屉内部设置有放置板,所述放置板底部设置有伸缩杆,所述放置板上表面设置有固定块,所述抽屉内部表面设置有隔热层,所述主体一侧设置有安装箱,所述主体内部顶端设置有保护罩,所述保护罩内部设置有散热风扇,所述抽屉底部设置有安装架。本实用新型结构新颖,且具有多个抽屉,增加装置的安装容量,同时增加了装置的散热效果,使电气元件的安装难度降低,并增加了安全性。


