授权公布号:CN218583003U
路灯
有效
申请
2022-08-26
申请公布
1970-01-01
授权
2023-03-07
预估到期
2032-08-26
| 申请号 | CN202222270507.1 |
| 申请日 | 2022-08-26 |
| 授权公布号 | CN218583003U |
| 授权公告日 | 2023-03-07 |
| 分类号 | F21S9/00;F21V23/00;F21V31/04;F21W131/103N |
| 分类 | 照明; |
| 申请人名称 | 广州广日电气设备有限公司 |
| 申请人地址 | 广东省广州市番禺区石楼镇国贸大道南636号 |
专利法律状态
2023-03-07
授权
状态信息
授权
摘要
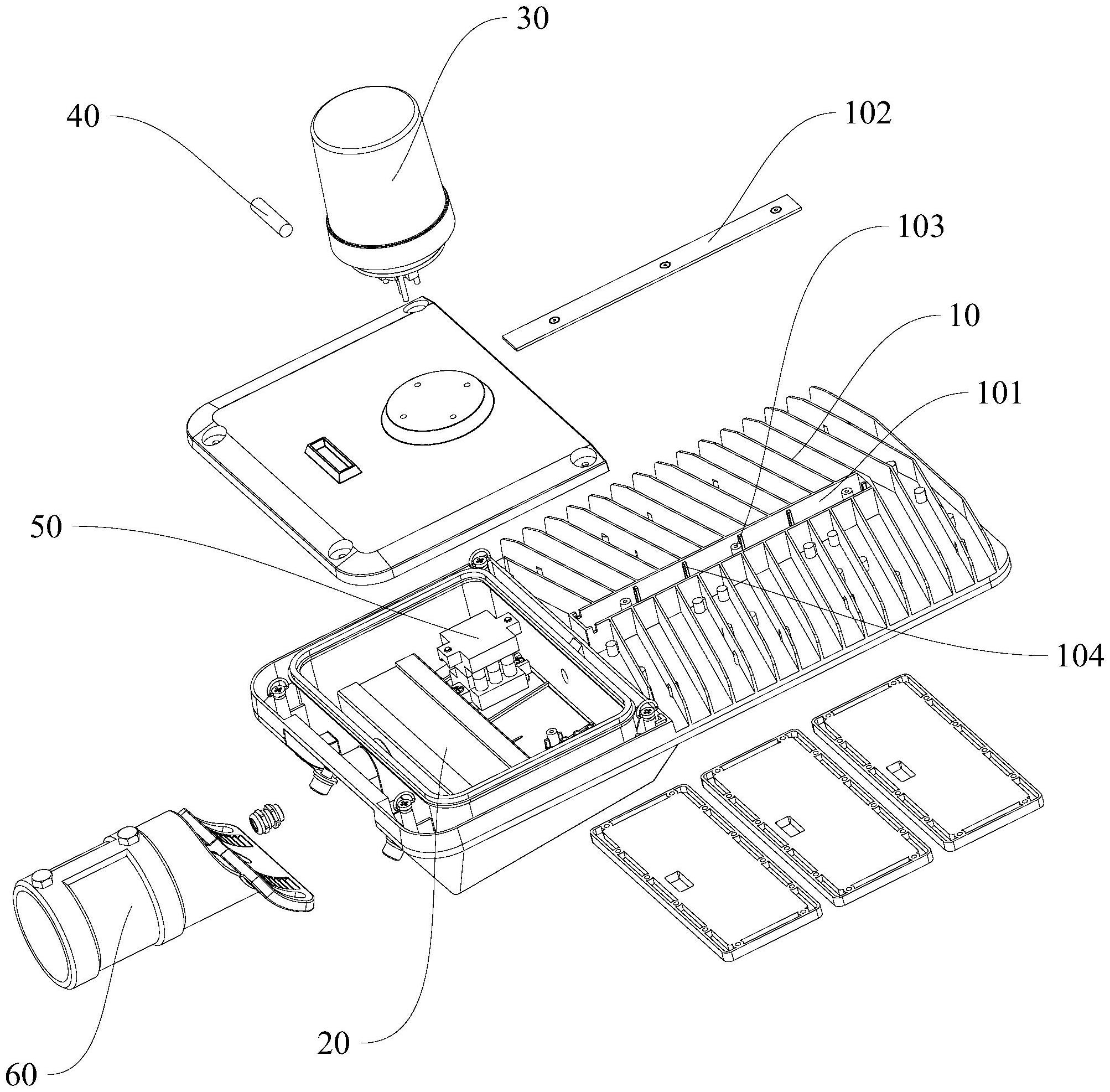
本实用新型提供一种路灯,包括发光体以及用于给发光体提供电能的电源模块,发光体上设有用于供电源线走线的走线槽,电源线走线后,走线槽中灌注有密封胶层;电源模块开设有与走线槽导通的走线孔。本方案通过上述设置,无需在灯体上钻设走线孔,减少了灯体加工成型的难度,工作人员能够清晰查看电源线的走线情况,减少安装维修的难度,最后通过密封胶层固定住电源线,能够避免电源线和发光体之间发生相对移动,防止出现连接不良的情况,同时密封胶层还能够起到防水作用,提高路灯整体运作的稳定性。


