授权公布号:CN212657184U
一种齿轮箱
有效
申请
2020-07-02
申请公布
1970-01-01
授权
2021-03-05
预估到期
2030-07-02
| 申请号 | CN202021272551.0 |
| 申请日 | 2020-07-02 |
| 授权公布号 | CN212657184U |
| 授权公告日 | 2021-03-05 |
| 分类号 | F16H57/12;F16H1/06;F16H57/021;F16H57/04 |
| 分类 | 工程元件或部件;为产生和保持机器或设备的有效运行的一般措施;一般绝热; |
| 申请人名称 | 杭州伟豪离合器有限公司 |
| 申请人地址 | 浙江省杭州市萧山临江工业园区临宾路419号 |
专利法律状态
2021-03-05
授权
状态信息
授权
摘要
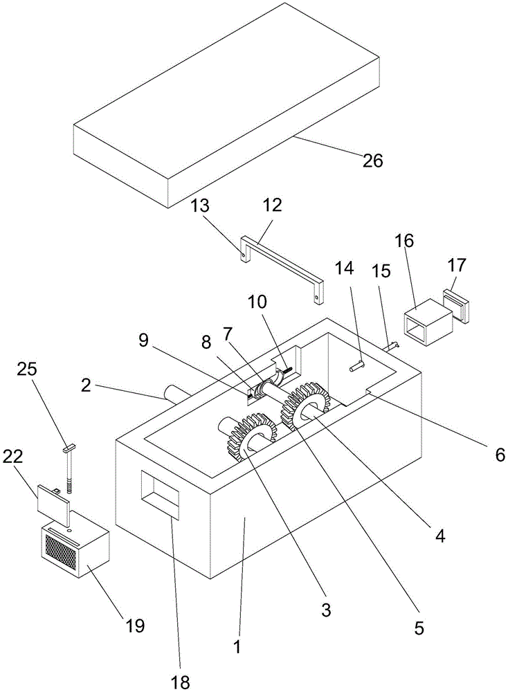
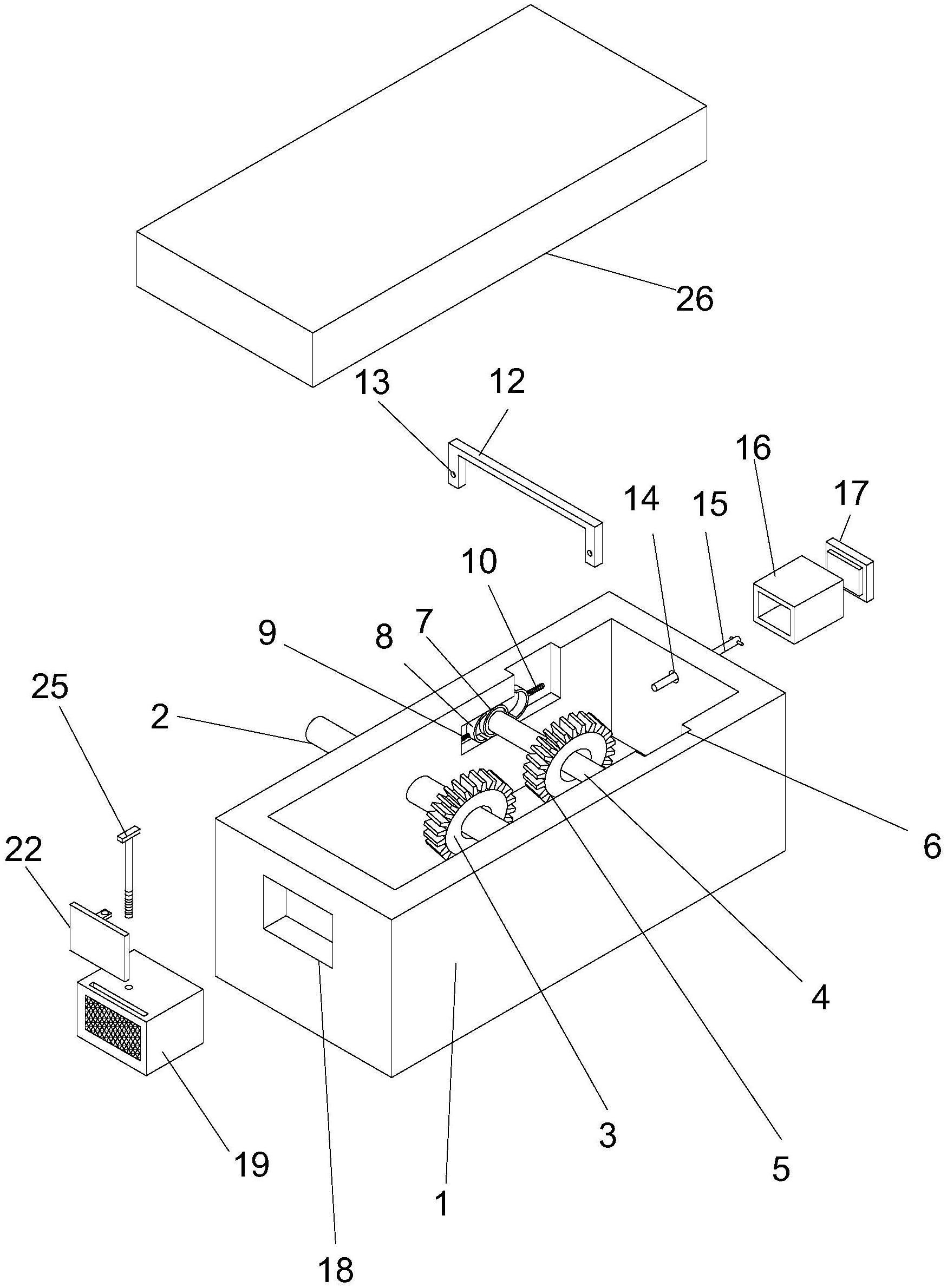
本实用新型涉及齿轮箱技术领域,且公开了一种齿轮箱,包括主体,主体为内部中空的矩形结构,且主体顶部为矩形开放式结构,主体的后侧设置动力杆,动力杆为圆柱结构,且动力杆向前贯穿对应主体的后侧壁面延伸到主体的内部,主体的内部设置有主齿轮,主齿轮套接在动力杆的外圆柱上,主体的内部设置有调节杆,调节杆为表面光滑的圆杆,且调节杆位于主齿轮的右侧,调节杆的外圆柱上套接有副齿轮,本实用新型,通过设置有连接盒和过滤网,当主体内部进行工作时,旋转第二螺杆向上移动,第二螺杆带动限位板向上移动,限位板向上移动后,主体内部产生的热量通孔排风孔移动到连接盒的内部,然后从连接盒排出主体的内部,起到了散热作用。


