授权公布号:CN208897301U
一输入一输出船舶用双速离合齿轮箱
有效
申请
2018-10-31
申请公布
1970-01-01
授权
2019-05-24
预估到期
2028-10-31
| 申请号 | CN201821786189.1 |
| 申请日 | 2018-10-31 |
| 授权公布号 | CN208897301U |
| 授权公告日 | 2019-05-24 |
| 分类号 | B63H23/02;B63H23/30;F16H57/023 |
| 分类 | 船舶或其他水上船只;与船有关的设备; |
| 申请人名称 | 杭州伟豪离合器有限公司 |
| 申请人地址 | 浙江省杭州市萧山临江工业园区临宾路419号 |
专利法律状态
2019-05-24
授权
状态信息
授权
摘要
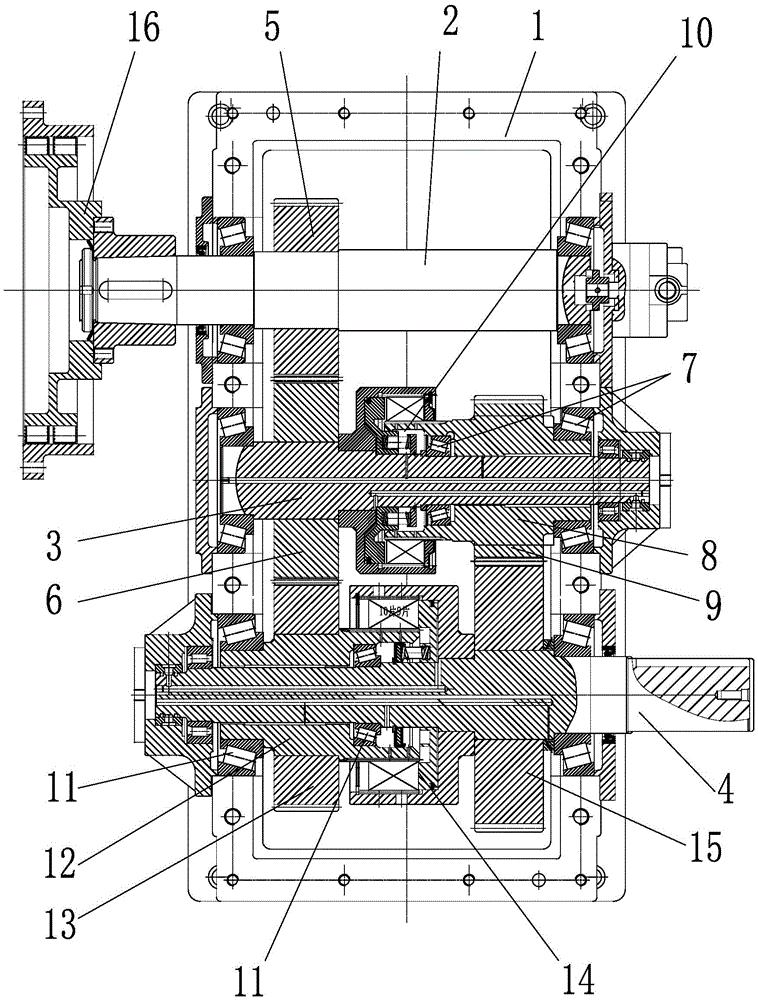
本实用新型涉及离合式齿轮箱技术领域,具有结构紧凑,使用方便的技术特点。一输入一输出船舶用双速离合齿轮箱,其特征在于:包括箱体、输入轴、中间轴和输出轴;输入轴的前侧固定安装有主动齿轮;中间轴的前侧固定安装有第一中间齿轮,第一中间齿轮与主动齿轮啮合;中间轴的后侧通过第一轴承安装有第一转动套,第一转动套的外壁固定有第二中间齿轮;中间轴的中部安装有与第一转动套配合的第一离合器;输出轴的前侧通过第二轴承安装有第二转动套,第二转动套的外壁固定有第一从动齿轮,第一从动齿轮与第一中间齿轮啮合,输入轴的中部安装有与第二转动套配合的第二离合器,输出轴的后侧固定安装有第二从动齿轮,第二从动齿轮与第二中间齿轮啮合。


