授权公布号:CN209444933U
一种新型波纹管连接组件及连接结构
有效
申请
2018-12-12
申请公布
1970-01-01
授权
2019-09-27
预估到期
2028-12-12
| 申请号 | CN201822085308.7 |
| 申请日 | 2018-12-12 |
| 授权公布号 | CN209444933U |
| 授权公告日 | 2019-09-27 |
| 分类号 | F16L21/02 |
| 分类 | 工程元件或部件;为产生和保持机器或设备的有效运行的一般措施;一般绝热; |
| 申请人名称 | 成都共同管业集团股份有限公司 |
| 申请人地址 | 四川省成都市温江区成都海峡两岸科技产业开发园海科路西段498号 |
专利法律状态
2019-09-27
授权
状态信息
授权
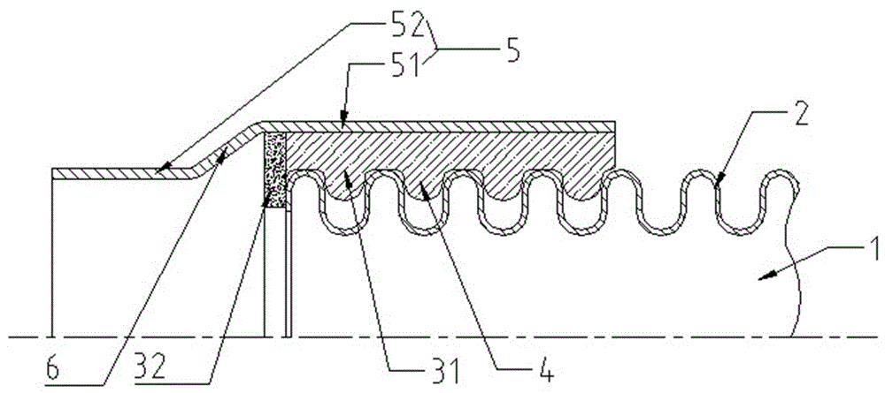
摘要
本实用新型公开了一种新型波纹管连接组件及连接结构,包括:外周设有若干外波纹的波纹管体;由弹性密封圈与弹性定位环组成的密封环套设于波纹管体外部;所述弹性密封圈内表面设有与所述外波纹相对应的凸起,所述凸起与外波纹配合使弹性密封圈套设在波纹管体上,所述弹性定位环位于弹性密封圈一侧底部且凸出于所述凸起;还包括由环压部与连接部组成的环压头,所述环压部套设于弹性密封圈外部,所述环压部两端均设有待环压区。本实用新型提供一种新型波纹管连接组件及连接结构,对环压头的环压部进行环压压接,弹性密封圈嵌入波纹管体的外波纹内,形成密封和连接成一体的环压连接形式,其连接可靠、密封性好。


