授权公布号:CN213104001U
一种凸环管件水涨模具
有效
申请
2020-09-04
申请公布
1970-01-01
授权
2021-05-04
预估到期
2030-09-04
| 申请号 | CN202021925594.4 |
| 申请日 | 2020-09-04 |
| 授权公布号 | CN213104001U |
| 授权公告日 | 2021-05-04 |
| 分类号 | B21D26/047 |
| 分类 | 基本上无切削的金属机械加工;金属冲压; |
| 申请人名称 | 深圳市民乐管业有限公司 |
| 申请人地址 | 广东省深圳市光明新区马田街道马山头社区钟表基地格雅科技大厦1栋1005 |
专利法律状态
2021-05-04
授权
状态信息
授权
摘要
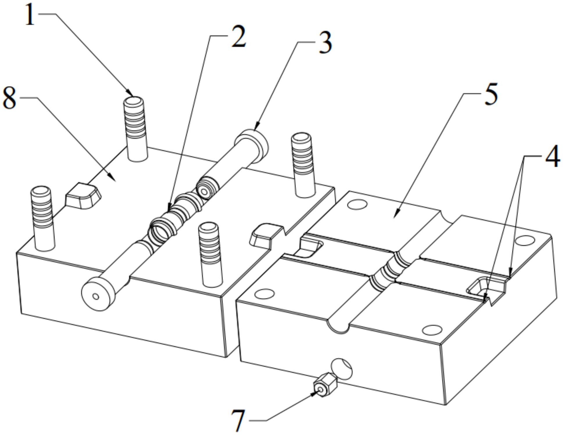
本实用新型公开了一种凸环管件水涨模具,包括:上模、下模;所述上模的边角处安装有导柱;所述下模的边角处对应设置有定位通孔,与所述导柱相配合;所述上模设有管状型腔上腔,所述下模设有管状型腔下腔;管状型腔两端设置有冲头;所述管状型腔上腔、下腔内侧分别加工有向外侧凹陷的半圆环结构,并在所述管状型腔上腔、下腔组合后形成相应的凸环型腔;所述半圆环结构处沿合模面设置有排气槽;本实用新型通过在凸环型腔的合模面设置排气槽,有效将残存气体排出,保证产品复杂表面与模具内腔表面的贴合程度,进而提升加工精度,提高产品质量。


