授权公布号:CN219013600U
一种压力表连接管
有效
申请
2022-12-21
申请公布
1970-01-01
授权
2023-05-12
预估到期
2032-12-21
| 申请号 | CN202223434627.7 |
| 申请日 | 2022-12-21 |
| 授权公布号 | CN219013600U |
| 授权公告日 | 2023-05-12 |
| 分类号 | F16L15/04;G01L1/00;G01L19/00;F16L15/00 |
| 分类 | 工程元件或部件;为产生和保持机器或设备的有效运行的一般措施;一般绝热; |
| 申请人名称 | 广东双兴新材料集团有限公司 |
| 申请人地址 | 广东省佛山市高明区杨和镇三和路以南、人景路以东 |
专利法律状态
2023-05-12
授权
状态信息
授权
摘要
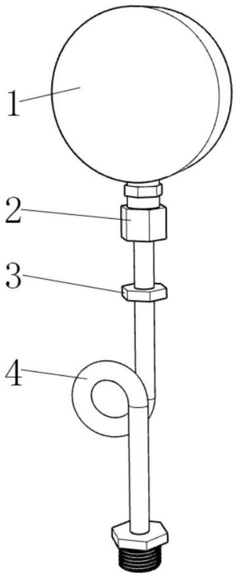
本实用新型提供一种压力表连接管,涉及压力测试领域,包括压力表,所述压力表的下方设有连接帽,所述连接帽的底端套接有连接管,所述连接管的顶端且位于连接帽的内侧设有挡板,所述挡板的上方设有垫片,所述连接帽的中部设有贯通孔,所述贯通空内侧设有内螺纹,所述连接管的顶端且位于挡板的下方设有外螺纹,所述连接管的外螺纹与连接帽的内螺纹适配,所述挡板的顶端且位于边缘处设置有凸环,本实用新型通过固定辅助板,并拧动连接帽,使连接管螺纹与连接帽的螺纹孔分离,使连接帽沿连接管的外侧下移,使垫片位于连接帽的外侧,使垫片与挡板分离进行更换,使连接管无需进行拆卸,便可使垫片取出,使垫片的安装拆卸较为便捷。


