授权公布号:CN213080962U
一种不锈钢焊管的智能调节焊缝打磨机构
有效
申请
2020-06-06
申请公布
1970-01-01
授权
2021-04-30
预估到期
2030-06-06
| 申请号 | CN202021020087.6 |
| 申请日 | 2020-06-06 |
| 授权公布号 | CN213080962U |
| 授权公告日 | 2021-04-30 |
| 分类号 | B24B9/04;B24B47/12;B24B47/28;B24B47/22 |
| 分类 | 磨削;抛光; |
| 申请人名称 | 广东粤华不锈钢型材股份有限公司 |
| 申请人地址 | 广东省汕头市濠江区三联工业区 |
专利法律状态
2021-04-30
授权
状态信息
授权
摘要
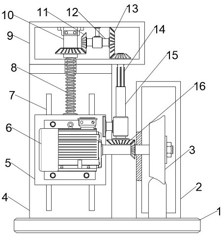
本实用新型涉及产品加工相关技术领域,具体是一种不锈钢焊管的智能调节焊缝打磨机构,包括安装座及固定在所述安装座上的支撑架,所述支撑架上通过滑动组件滑动安装有安装板,所述安装板上安装有打磨机构;所述支撑架上安装有传动箱,所述传动箱的内侧设置有螺纹驱动组件,且所述螺纹驱动组件与所述安装板连接,所述螺纹驱动组件还通过传动机构连接所述打磨机构。本实用新型设计新颖,通过设置的打磨机构对不锈钢焊管进行打磨处理,同时打磨机构还通过传动机构带动螺纹驱动组件运动,当螺纹驱动组件运动时驱动所述打磨机构整体进行垂直位置调节,以消除打磨轮在打磨过程中产生损耗带来的打磨轮与不锈钢焊管之间产生的间隙,实用性强。


