授权公布号:CN212601130U
一种不锈钢焊管的倒角处理装置
有效
申请
2020-06-06
申请公布
1970-01-01
授权
2021-02-26
预估到期
2030-06-06
| 申请号 | CN202021020069.8 |
| 申请日 | 2020-06-06 |
| 授权公布号 | CN212601130U |
| 授权公告日 | 2021-02-26 |
| 分类号 | B24B47/12;B24B47/22;B24B29/04 |
| 分类 | 磨削;抛光; |
| 申请人名称 | 广东粤华不锈钢型材股份有限公司 |
| 申请人地址 | 广东省汕头市濠江区三联工业区 |
专利法律状态
2021-02-26
授权
状态信息
授权
摘要
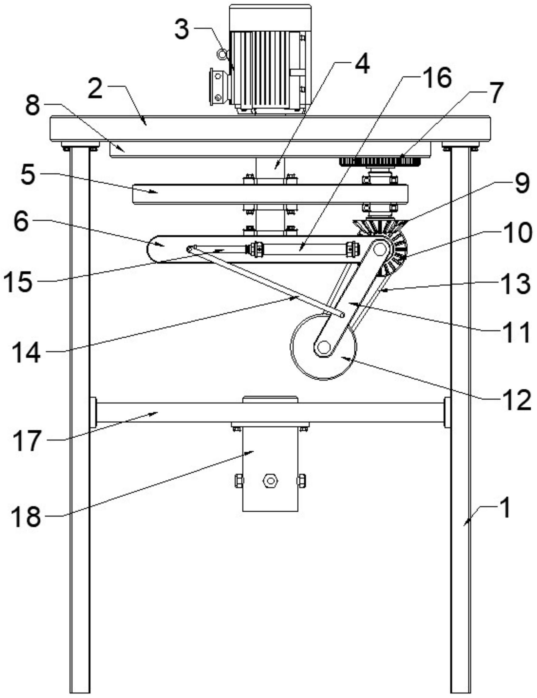
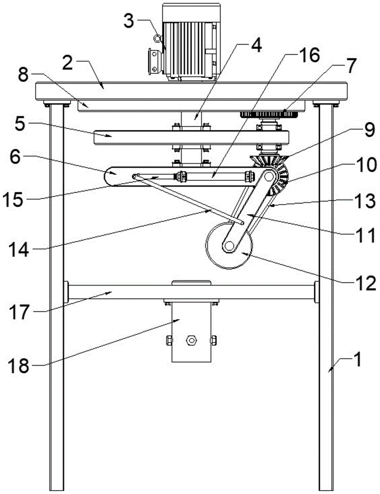
本实用新型公开了一种不锈钢焊管的倒角处理装置,所述安装件上固定有电机,所述电机的下方设置有旋转组件,在所述旋转组件的偏心处安装有齿合组件,且所述齿合组件通过伞齿轮组连接设置在所述旋转组件下方的砂轮,所述砂轮通过摆动组件连接所述旋转组件;该装置通过电机带动输出轴转动,从而同时带动固定件和旋转件同步旋转,旋转件驱动安装在其边缘的转轴和齿轮作圆周运动,齿轮与固定的内齿圈配合带动转轴一边作圆周运动一边自转,转轴通过伞齿轮组借助传动件驱动砂轮一边作圆周运动一边自转执行磨削动作,且调节组件的设置可对砂轮位置进行调整,便于对不同规格尺寸的管件进行加工。


