授权公布号:CN216066568U
双面铣边机
有效
申请
2021-10-18
申请公布
1970-01-01
授权
2022-03-18
预估到期
2031-10-18
| 申请号 | CN202122530946.7 |
| 申请日 | 2021-10-18 |
| 授权公布号 | CN216066568U |
| 授权公告日 | 2022-03-18 |
| 分类号 | B23Q7/00;B23C3/12;B23C9/00;B23C1/04 |
| 分类 | 机床;不包含在其他类目中的金属加工; |
| 申请人名称 | 浙江德威不锈钢管业股份有限公司 |
| 申请人地址 | 浙江省嘉兴市南湖区新丰镇嘉钢路888号 |
专利法律状态
2022-03-18
授权
状态信息
授权
摘要
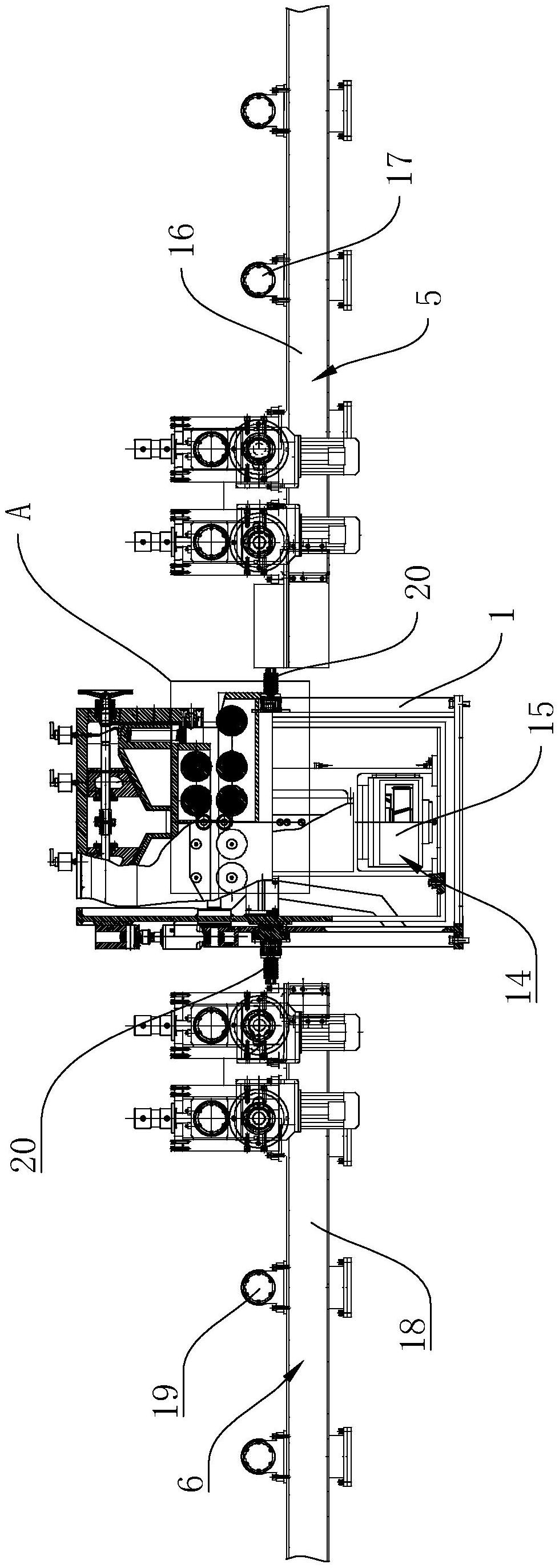
本实用新型属于自动化设备技术领域,尤其涉及一种双面铣边机。本实用新型,包括铣边机机座,所述的铣边机机座上设有铣边平台,所述的铣边平台上设有双面铣边件,所述的铣边机机座上还设有防摆动压轮组件。本实用新型在使用过程中,将待加工的物料放置于进料部上,通过进料部将物料输送至铣边机机座上,通过双面铣边件对物料进行双面同步铣边,在铣边过程中,防摆动压轮组件可避免在铣削时动力头发生前后摆动,使得双面铣边件进行稳定旋转,减少共震的产生,提高了铣边的精确度,在完成双面铣边后,通过出料部将完成加工后的物料进行运输,自动化程度和实用性较好。


