授权公布号:CN216097152U
龙门焊机的同步清渣机构
有效
申请
2021-10-18
申请公布
1970-01-01
授权
2022-03-22
预估到期
2031-10-18
| 申请号 | CN202122506874.2 |
| 申请日 | 2021-10-18 |
| 授权公布号 | CN216097152U |
| 授权公告日 | 2022-03-22 |
| 分类号 | B23K37/00 |
| 分类 | 机床;不包含在其他类目中的金属加工; |
| 申请人名称 | 浙江德威不锈钢管业股份有限公司 |
| 申请人地址 | 浙江省嘉兴市南湖区新丰镇嘉钢路888号 |
专利法律状态
2022-03-22
授权
状态信息
授权
摘要
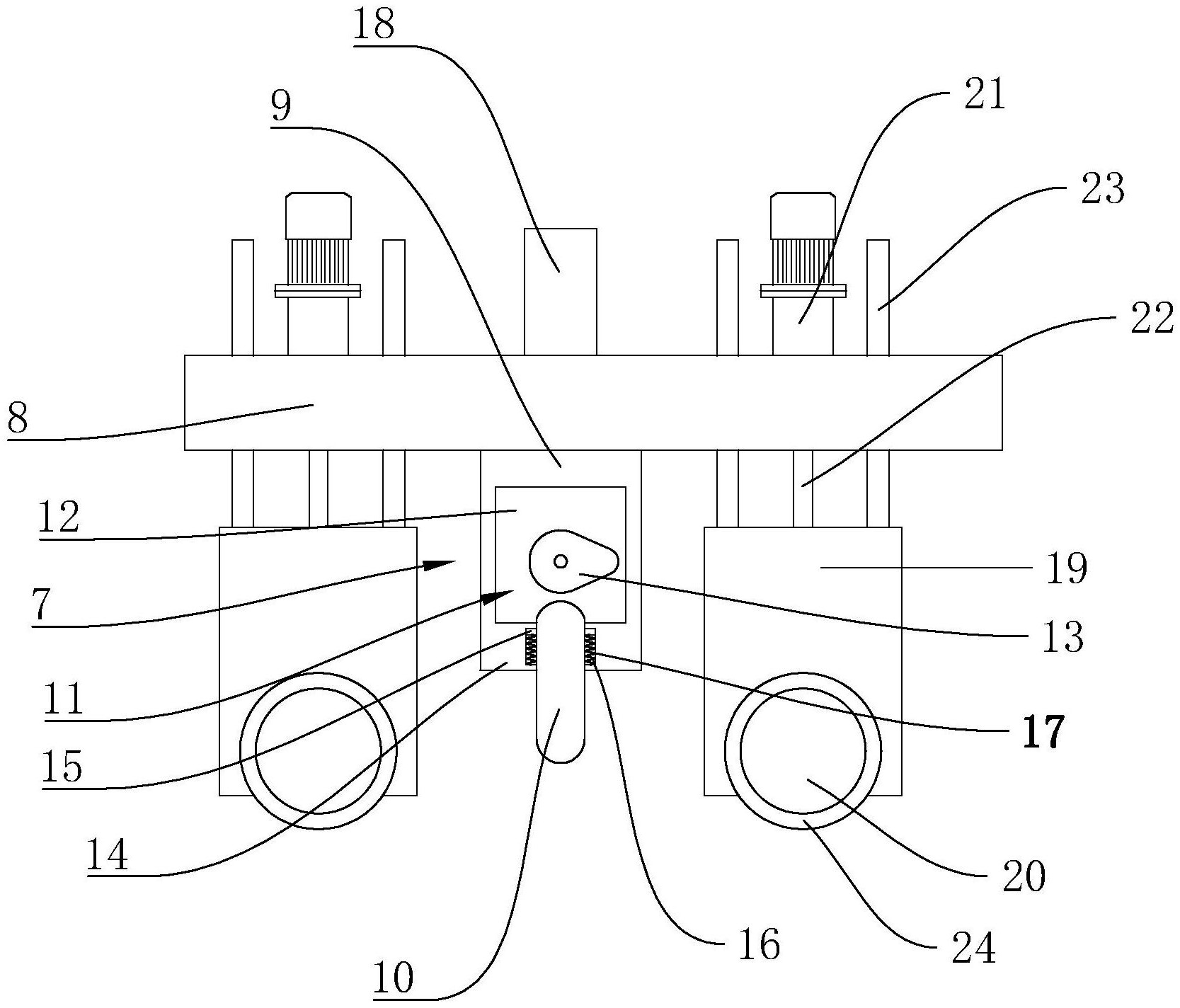
本实用新型提供了一种龙门焊机的同步清渣机构,属于龙门焊机技术领域。它包括机床,所述的机床上设有可沿水平方向往复运动的平移横梁,所述的平移横梁上设有可沿水平方向往复运动的横移座,所述的横移座的运动方向与平移横梁的运动方向垂直,所述的横移座上设有可沿竖直方向升降的升降座,所述的升降座上固连有焊枪,所述的横移座上还设有移动式压紧机构和用于除渣的锤击机构。锤击机构能随平移座同步运动,在完成焊接后能对焊点位置进行敲击以除去焊接处表面的焊渣,无需后期人工敲打进行清除,能有效提高焊接效率,移动式压紧机构能够在锤击机构动作时对产品进行压紧,防止产品出现松动导致焊接精度降低。


