授权公布号:CN212122234U
焊接组件的上辊模块
有效
申请
2020-01-20
申请公布
1970-01-01
授权
2020-12-11
预估到期
2030-01-20
| 申请号 | CN202020135663.5 |
| 申请日 | 2020-01-20 |
| 授权公布号 | CN212122234U |
| 授权公告日 | 2020-12-11 |
| 分类号 | B23K37/053 |
| 分类 | 机床;不包含在其他类目中的金属加工; |
| 申请人名称 | 浙江德威不锈钢管业股份有限公司 |
| 申请人地址 | 浙江省嘉兴市南湖区新丰镇嘉钢路888号 |
专利法律状态
2020-12-11
授权
状态信息
授权
摘要
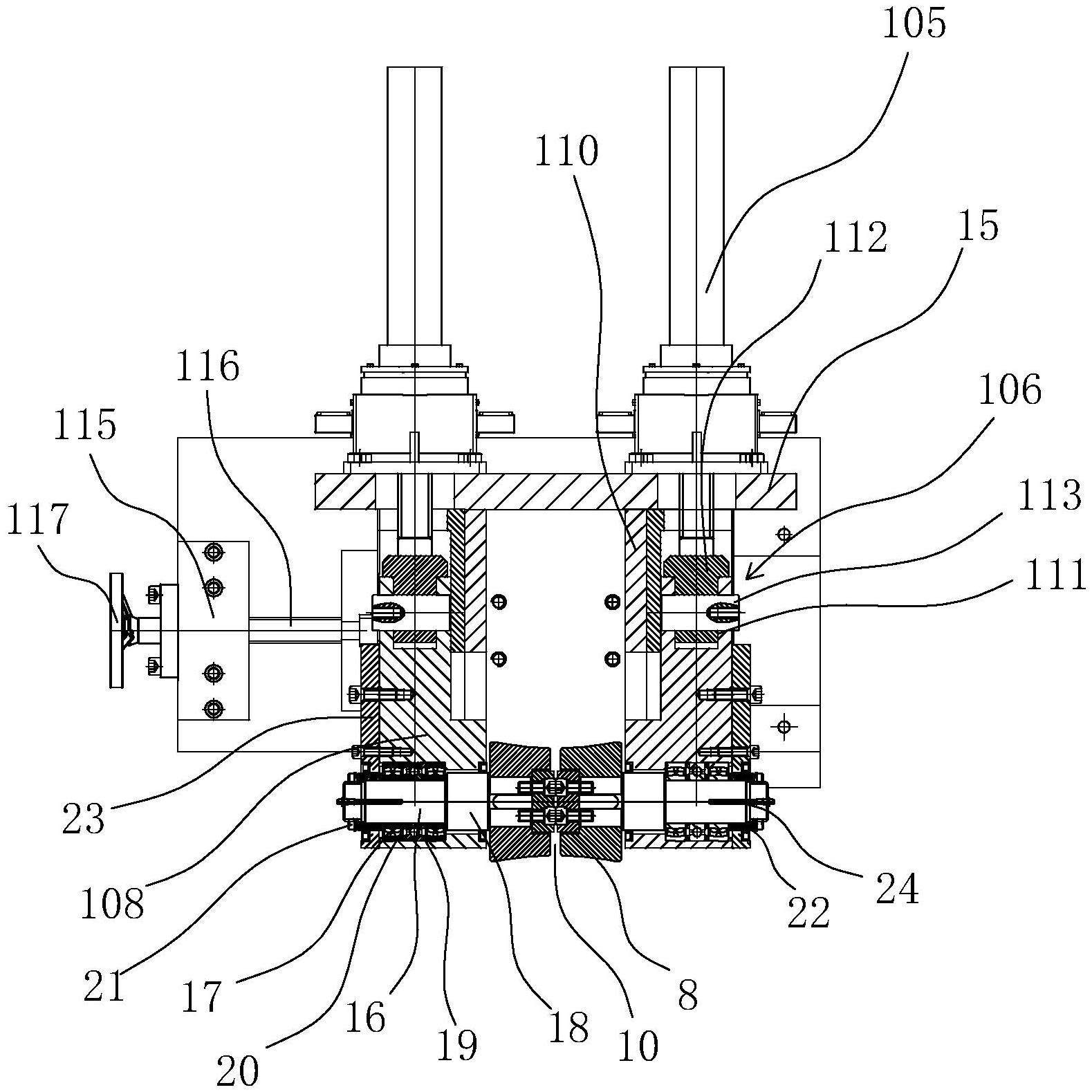
本实用新型提供了一种焊接组件的上辊模块,属于圆管生产设备技术领域。它包括设置在机架上的连接块和二号上辊体座,所述的二号上辊体座和连接块通过滑块滑轨结构活动连接。二号上辊体座上两对称设置的二号上辊体能够对管材的焊缝进行定型,通过调节两个二号上辊体之间的预留间隙大小能够调整对管材焊缝的大小,平移机构能通过连接块上的滑块滑轨结构驱动二号上辊体座横向移动,从而能驱动管材上的焊缝与焊机对齐,独立驱动机构能驱动二号上辊体沿垂直方向升降从而能够调整管材焊缝与焊机之间的距离,从而能够从垂直方向和水平方向及时调整管材焊缝与焊机之间的位置,提高焊接效率。


