授权公布号:CN216077790U
折弯机油缸机构
有效
申请
2021-10-09
申请公布
1970-01-01
授权
2022-03-18
预估到期
2031-10-09
| 申请号 | CN202122437792.7 |
| 申请日 | 2021-10-09 |
| 授权公布号 | CN216077790U |
| 授权公告日 | 2022-03-18 |
| 分类号 | F15B15/14;F15B15/20 |
| 分类 | 流体压力执行机构;一般液压技术和气动技术; |
| 申请人名称 | 浙江德威不锈钢管业股份有限公司 |
| 申请人地址 | 浙江省嘉兴市南湖区新丰镇嘉钢路888号 |
专利法律状态
2022-03-18
授权
状态信息
授权
摘要
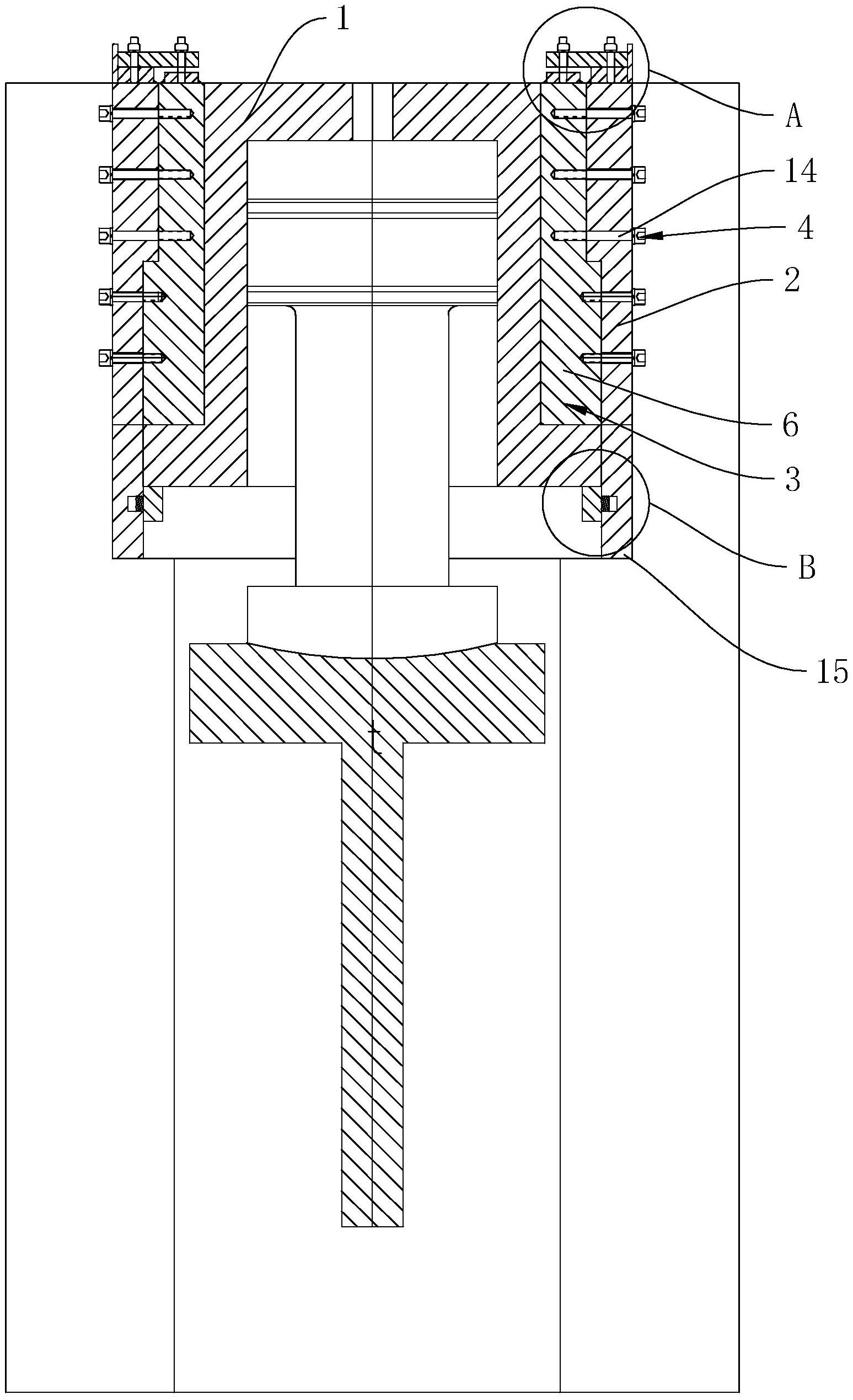
本实用新型属于油缸技术领域,尤其涉及一种折弯机油缸机构。本实用新型,包括主油缸和油缸机架,所述的主油缸上设有螺接部,所述的油缸机架与螺接部相紧贴配合,所述的油缸机架与螺接部之间通过横向连接件相连。本实用新型在安装过程中,将主油缸放置于油缸机架上,使得油缸机架与螺接部相紧贴配合,通过横向连接件将油缸机架与螺接部进行水平方向的螺接固定,固定效果好且方便工作人员进行拆装,同时通过径向拉紧固定组件将油缸机架与螺接部进行径向连接,避免在长时间使用后,主油缸和油缸机架之间的连接处发生局部变形,减少螺纹孔的错位情况,形成多方位的有效固定,固定效果较好,减少滑动和异部动作,稳定性较强。


