授权公布号:CN216097148U
一种水循环制管线气托支架
有效
申请
2021-10-09
申请公布
1970-01-01
授权
2022-03-22
预估到期
2031-10-09
| 申请号 | CN202122437707.7 |
| 申请日 | 2021-10-09 |
| 授权公布号 | CN216097148U |
| 授权公告日 | 2022-03-22 |
| 分类号 | B23K37/00 |
| 分类 | 机床;不包含在其他类目中的金属加工; |
| 申请人名称 | 浙江德威不锈钢管业股份有限公司 |
| 申请人地址 | 浙江省嘉兴市南湖区新丰镇嘉钢路888号 |
专利法律状态
2022-03-22
授权
状态信息
授权
摘要
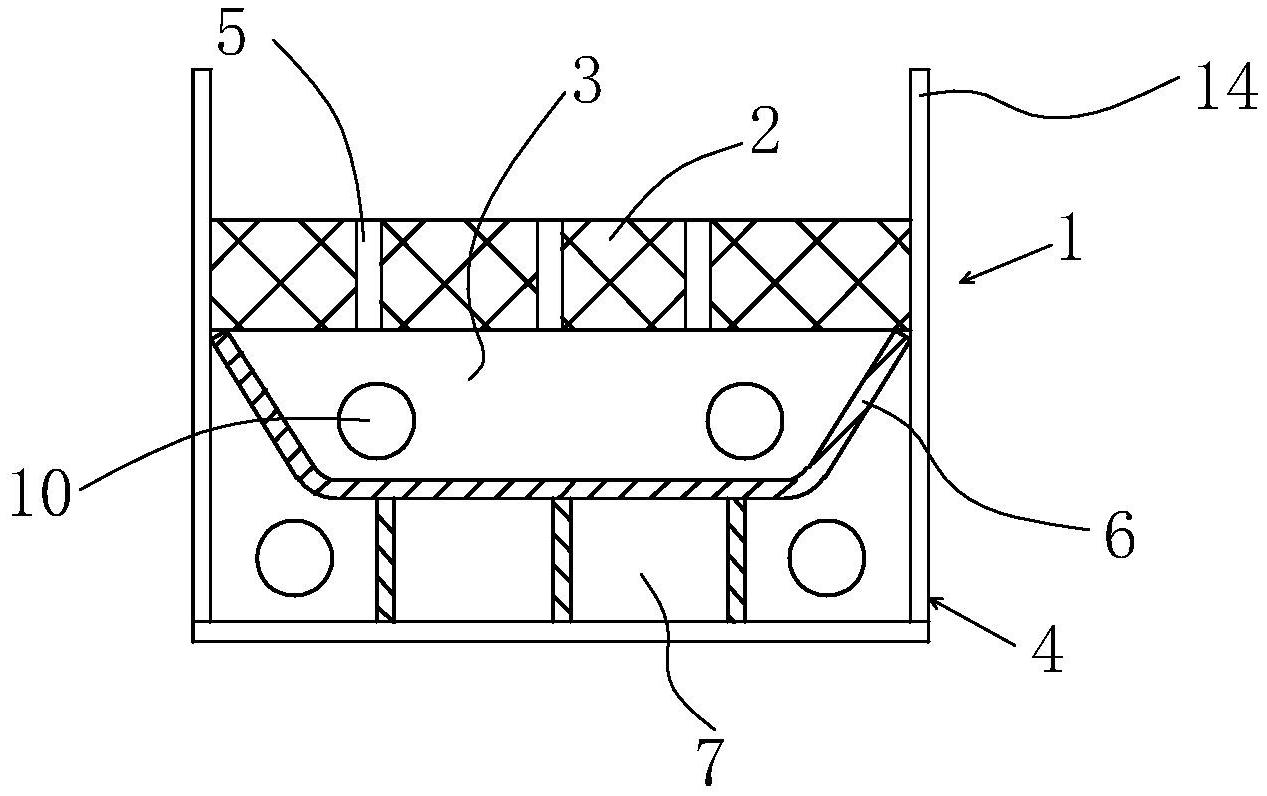
本实用新型提供了一种水循环制管线气托支架,属于气托支架技术领域。它包括支架上表面设置隔热板,所述的隔热板的下侧由上到下依次设置气室和冷却室,所述的隔热板沿竖直方向设置若干供气室内气体排出的贯通孔,所述的气室的侧壁呈倾斜设置,所述的冷却室向上延伸至呈倾斜设置侧壁的位置。本实用新型利用冷却室对气室进行降温,避免设备变形现象的发生,确保气流的稳定性,从而保障焊接效果及焊件的稳定性。本实用新型中,冷却室向上延伸至呈倾斜设置侧壁的位置,增加了气室与冷却室的接触面的面积,提升了对气室冷却的效果。


